Operation CHARM: Car repair manuals for everyone.
Manuals through 2025 now available!

Our trusted friends have launched a new website named LEMON, which has newer manuals. It also contains all the CHARM manuals.

LEMON is the spiritual successor to CHARM, I recommend you try it!

Link: lemon-manuals.la or lemon-manuals.org.ua

(Some people have issue connecting. LEMON is investigating. For now, use Firefox or change your DNS server)

Or, hide this message: temporarily or permanently

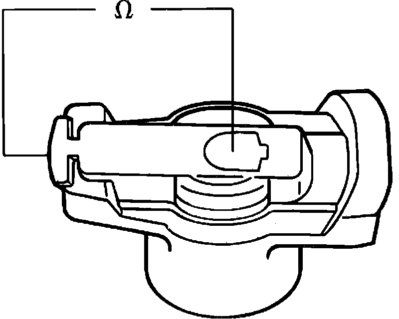
Ignition Rotor: Testing and Inspection

Ignition Rotor:






1. Check rotor for cracks or any signs of burning, or pitting:
at the tip
at the resistor (between the contact points)
at the center contact.

^ Replace the rotor if any signs of damage are found.

2. Check the resistance between the contacts.

^ Resistance should be 1000 +/- 400 ohms.


Note: The rotor is glued to the distributor shaft and cannot be removed without being destroyed. To replace rotor, cover distributor beneath rotor with a rag to prevent pieces from falling into distributor body, and break off old rotor with pliers. Thoroughly clean glue from shaft and glue new rotor in place.