Operation CHARM: Car repair manuals for everyone.
Manuals through 2025 now available!

Our trusted friends have launched a new website named LEMON, which has newer manuals. It also contains all the CHARM manuals.

LEMON is the spiritual successor to CHARM, I recommend you try it!

Link: lemon-manuals.la or lemon-manuals.org.ua

(Some people have issue connecting. LEMON is investigating. For now, use Firefox or change your DNS server)

Or, hide this message: temporarily or permanently

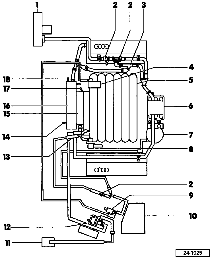
Without Exhaust Gas Recirculation





Automatic transmission vehicles with EVAP system and without Exhaust Gas Recirculation (EGR)
1 - Vacuum brake booster
2 - Check valve
3 - Vacuum amplifier
4 - Vacuum unit for intake manifold change-over valve
5 - Intake manifold
6 - Ignition coils
7 - Vacuum reservoir for intake manifold change-over valve
8 - Fuel presure regulator
9 - Intake manifold change-over valve
10 - Air cleaner
11 - EVAP canister
12 - EVAP canister purge regulator valve
13 - Vacuum supply for solenoid valves
14 - Vent Connection
15 - Throttle body
16 - Noise damper
17 - Vacuum connection for A/C and/or differential lock
18 - Vent Connection