Operation CHARM: Car repair manuals for everyone.
Manuals through 2025 now available!

Our trusted friends have launched a new website named LEMON, which has newer manuals. It also contains all the CHARM manuals.

LEMON is the spiritual successor to CHARM, I recommend you try it!

Link: lemon-manuals.la or lemon-manuals.org.ua

(Some people have issue connecting. LEMON is investigating. For now, use Firefox or change your DNS server)

Or, hide this message: temporarily or permanently

Coolant Temperature Sensor/Switch (For Computer): Testing and Inspection



Engine Coolant Temperature (ECT) Sensor G62, Checking

NOTE: This procedure is used to diagnose the 2 pin Engine Coolant Temperature (ECT) Sensor G62 from June 2005. To diagnose the 4 pin Engine Coolant Temperature (ECT) Sensor G62 Phased in modification.

CAUTION:
- Cooling system is under pressure.
- Danger of scalding when opening.


NOTE: Use only gold-plated terminals when servicing terminals in the electrical harness connector of Engine Coolant Temperature (ECT) Sensor G62.

Special tools, testers and auxiliary items required
- Multimeter.
- jumper wire.
- Wiring diagram.

Test requirements
- The Motronic Engine Control Module (ECM) J623 Fuse S243 OK.
- Battery voltage at least 12.5 volts.
- All electrical consumers such as, lights and rear window defroster, switched off.
- Vehicles with automatic transmission, shift selector lever into position "P" or "N".
- A/C switched off.
- Ground (GND) connections between engine/transmission/chassis OK.
- Ignition switched off.
- Engine cold.

Function test
- Connect the scan tool.
- Switch the ignition on.
- Using the scan tool, check the coolant temperature:

Diagnostic text Specified value
Coolant temperature Approx. coolant temperature

If the specified value is not obtained:

- Continue test according to the following table:

Indicated Cause Test
approx. -40.0 degrees C Open circuit or short circuit to (B+)
approx. 140.0 degrees C Short circuit to Ground (GND)

If the specified value was obtained:
- Start the engine and let it run at idle.

The temperature value must increase uniformly in increments of 1.0 degree C.

If the engine shows problems in certain temperature ranges and if the temperature does not climb uniformly, the temperature signal is intermittent.

- Replace the the Engine Coolant Temperature (ECT) Sensor G62.

Checking internal resistance







- Disconnect the Engine Coolant Temperature (ECT) Sensor G62 electrical harness connector - 2 -.







- Using a multimeter , check the Engine Coolant Temperature (ECT) Sensor G62 terminals 1 to 2 for resistance.

Use the chart below for the specified values:
- Area A: Resistance values 0 to 50 degrees C.
- Area B: Resistance values 50 to 100 degrees C.







Specified values:
- Range A, 30 degrees C equals a resistance of 1.5 to 2.0 k Ohms
- Range B, 80 degrees C equals a resistance of 275 to 375 Ohms

If any of the specified values was not obtained:
- Replace the Engine Coolant Temperature (ECT) Sensor G62.

Testing if display is approx. - 40.0 degrees C:







- Disconnect the Engine Coolant Temperature (ECT) Sensor G62 electrical harness connector - 1 -.
- Using a jumper wire , connect the Engine Coolant Temperature (ECT) Sensor G62 electrical harness connector terminals 1 to 2.
- Check the value indicated on the scan tool display.

If the value jumps to approx. 140.0 degrees C
- End diagnosis and switch the ignition off.
- Replace the Engine Coolant Temperature (ECT) Sensor G622.

If indication remains at approx. -40.0 degrees C:

Testing if display approx. 140.0 degrees C:







- Disconnect the Engine Coolant Temperature (ECT) Sensor G62 electrical harness connector - 2 -.

If indication jumps to approx. -40.0 degrees C:
- End diagnosis and switch ignition off.
- Replace the Engine Coolant Temperature (ECT) Sensor G62.

If indication remains at approx. 140.0 degrees C:

Checking wiring
If the manufacturers test box is being used. Perform the following step.
- Install the test box.

If the manufacturers test box is not being used. Perform the following step.
- Remove the Motronic Engine Control Module (ECM) J623.







- Using a Multimeter, check the Engine Coolant Temperature (ECT) Sensor G62 electrical harness connector terminals to the Motronic Engine Control Module (ECM) J623 electrical harness connector T121 terminals for an open circuit according to the wiring diagram.

Engine Coolant Temperature Motronic Engine Control
(ECT) Sensor G62 electrical Module (ECM) J623
harness connector terminals electrical connector T121 terminals or test box socket

1 108
2 93

Specified value: 1.5 Ohms Max.

If the specification was not obtained:
- Check the wiring for a short circuit to each other, Battery (+), and Ground (GND).
- Check the electrical harness connector for damage, corrosion, lose or broken terminals.
- If necessary, repair the faulty wiring connection.

If no malfunction is detected in the wiring:
- Replace the Motronic Engine Control Module (ECM) J623.

Final procedures
After repair work, the following work steps must be performed in the following sequence:
1. Check the DTC memory. Diagnostic Mode 03 - Read DTC Memory
2. If necessary, erase the DTC memory. Diagnostic Mode 04 - Erase DTC Memory
3. If the DTC memory was erased, generate readiness code.

- End of diagnosis.

Engine Coolant Temperature (ECT) Sensor G62, checking

NOTE: This procedure is used to diagnose the 4 pin Engine Coolant Temperature (ECT) Sensor G62 Phased in modification. Engine Coolant Temperature (ECT) Sensor G62 for 2 pin from June 2005 diagnosis.

CAUTION:
- Cooling system is under pressure.
- Danger of scalding when opening.


NOTE: Use only gold-plated terminals when servicing terminals in the electrical harness connector of Engine Coolant Temperature (ECT) Sensor G62.

Special tools, testers and auxiliary items required
- Multimeter.
- jumper wire.
- Wiring diagram.

Test requirements
- The Motronic Engine Control Module (ECM) J623 Fuse S243 OK.
- Battery voltage at least 12.5 volts.
- All electrical consumers such as, lights and rear window defroster, switched off.
- Vehicles with automatic transmission, shift selector lever into position "P" or "N".
- A/C switched off.
- Ground (GND) connections between engine/transmission/chassis OK.
- Ignition switched off.
- Engine cold.

Function test
- Connect the scan tool.
- Switch the ignition on.

- Using the scan tool, check the coolant temperature:

Diagnostic text Specified value
Coolant temperature Approx. coolant temperature

If the specified value is not obtained:
- Continue test according to the following table:

Indicated Cause Test
approx. -40.0 degrees C Open circuit or short circuit to (B+)
approx. 140.0 degrees C Short circuit to Ground (GND)

If the specified value was obtained:
- Start the engine and let it run at idle.

The temperature value must increase uniformly in increments of 1.0 degree C.

If the engine shows problems in certain temperature ranges and if the temperature does not climb uniformly, the temperature signal is intermittent.

- Replace the the Engine Coolant Temperature (ECT) Sensor G62.

Checking internal resistance







- Disconnect the Engine Coolant Temperature (ECT) Sensor G62 electrical harness connector - 2 -.







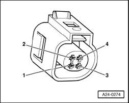
- Using a multimeter , check the Engine Coolant Temperature (ECT) Sensor G62 terminals 3 to 4 for resistance.

Use the chart below for the specified values:
- Area A: Resistance values 0 to 50 degrees C.
- Area B: Resistance values 50 to 100 degrees C.







Specified values:
- Range A, 30 degrees C equals a resistance of 1.5 to 2.0 k Ohms
- Range B, 80 degrees C equals a resistance of 275 to 375 Ohms

If any of the specified values was not obtained:
- Replace the Engine Coolant Temperature (ECT) Sensor G62.

Testing if display is approx. - 40.0 degrees C:







- Disconnect the Engine Coolant Temperature (ECT) Sensor G62 electrical harness connector - 1 -.
- Using a jumper wire , connect the Engine Coolant Temperature (ECT) Sensor G62 electrical harness connector terminals 3 to 4.
- Check the value indicated on the scan tool display.

If the value jumps to approx. 140.0 degrees C
- End diagnosis and switch the ignition off.
- Replace the Engine Coolant Temperature (ECT) Sensor G622.

If indication remains at approx. -40.0 degrees C:

Testing if display approx. 140.0 degrees C:







- Disconnect the Engine Coolant Temperature (ECT) Sensor G62 electrical harness connector - 2 -.

If indication jumps to approx. -40.0 degrees C:
- End diagnosis and switch ignition off.
- Replace the Engine Coolant Temperature (ECT) Sensor G62.

If indication remains at approx. 140.0 degrees C:

Checking wiring
- Install the test box.

If the manufacturers test box is not being used. Perform the following step.
- Remove the Motronic Engine Control Module (ECM) J623.







- Using a Multimeter, check the Engine Coolant Temperature (ECT) Sensor G62 electrical harness connector terminals to the Motronic Engine Control Module (ECM) J623 electrical harness connector T121 terminals for an open circuit according to the wiring diagram.

Engine Coolant Temperature Motronic Engine
(ECT) Sensor G62 electrical Control Module (ECM)
harness connector terminals J623 electrical connector T121 terminals or test box socket

3 108
4 93

Specified value: 1.5 Ohms Max.

If the specification was not obtained:
- Check the wiring for a short circuit to each other, Battery (+), and Ground (GND).
- Check the electrical harness connector for damage, corrosion, lose or broken terminals.
- If necessary, repair the faulty wiring connection.

If no malfunction is detected in the wiring:
- Replace the Motronic Engine Control Module (ECM) J623.

Final procedures
After repair work, the following work steps must be performed in the following sequence:
1. Check the DTC memory. Diagnostic Mode 03 - Read DTC Memory
2. If necessary, erase the DTC memory. Diagnostic Mode 04 - Erase DTC Memory
3. If the DTC memory was erased, generate readiness code.

- End of diagnosis.