Operation CHARM: Car repair manuals for everyone.
Manuals through 2025 now available!

Our trusted friends have launched a new website named LEMON, which has newer manuals. It also contains all the CHARM manuals.

LEMON is the spiritual successor to CHARM, I recommend you try it!

Link: lemon-manuals.la or lemon-manuals.org.ua

(Some people have issue connecting. LEMON is investigating. For now, use Firefox or change your DNS server)

Or, hide this message: temporarily or permanently

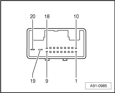
Steering Column Electronic Systems Control Module Connectors






Steering Column Electronic Systems Control Module Connectors

Connectors





A 4-pin connector (T4n) yellow
B Black 20-pin connector (T20b)

B - Black 20-Pin Connector (T20b)





11 CAN bus low (powertrain)
12 CAN bus high (powertrain)
13 Cruise control locked "OFF" to engine control module (ECM) (J623)
14 CAN bus high (Comfort)
15 CAN bus low (Comfort)
16 "Parking lock" signal from automatic transmission shift gate
17 Terminal 15 to Vehicle Electrical System Control Module (J519)
18 Terminal 50 to Vehicle Electrical System Control Module
19 Terminal 30
20 Terminal 31