Operation CHARM: Car repair manuals for everyone.
Manuals through 2025 now available!

Our trusted friends have launched a new website named LEMON, which has newer manuals. It also contains all the CHARM manuals.

LEMON is the spiritual successor to CHARM, I recommend you try it!

Link: lemon-manuals.la or lemon-manuals.org.ua

(Some people have issue connecting. LEMON is investigating. For now, use Firefox or change your DNS server)

Or, hide this message: temporarily or permanently

Air Flow Meter/Sensor: Testing and Inspection







Mass Air Flow Sensor, Checking

Use only gold-plated terminals when servicing terminals in harness connector of Mass Air Flow (MAF) Sensor (G70).

The Intake Air Temperature (IAT) Sensor 2 (G299) is part of the Mass Air Flow (MAF) Sensor (G70). Replacement of one sensor automatically replaces the other.

Special tools, testers and auxiliary items required

multimeter.

Wiring diagram.

Test requirements

The Mass Air Flow (MAF) Sensor (G70) fuse OK.





Battery voltage at least 12.5 volts.

All electrical consumers such as, lights and rear window defroster, switched off.

Vehicles with automatic transmission, shift selector lever into position "P" or "N".

A/C switched off.

Ground (GND) connections between engine/transmission/chassis OK.

Coolant Temperature at least 80° C.

Ignition switched off.

Test procedure

- Perform a preliminary check to verify the customers complaint. Refer to => [ Preliminary Check ] Preliminary Check

Start diagnosis

- Connect the scan tool.

- Start engine and let it run at idle.

- Using the scan tool, Check the air flow quantity of the Mass Air Flow (MAF) Sensor (G70) at idle:






- End diagnosis and switch ignition off.

If specified value is obtained, but DTC memory has a DTC concerning Mass Air Flow (MAF) Sensor (G70):

- Check voltage supply of Mass Air Flow (MAF) Sensor (G70).

If specified value was not obtained:

- Check the Mass Air Flow (MAF) Sensor (G70) electrical circuit.

Checking voltage supply

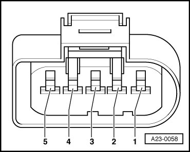
- Disconnect the Mass Air Flow (MAF) Sensor (G70) electrical harness connector - 1 -.





- Start the engine and let it run at idle.

- Using a multimeter, check the Mass Air Flow (MAF) Sensor (G70) electrical harness connector terminal 3 to engine Ground (GND).





Specified value: battery voltage.

- Switch the ignition off.

If specified value was not obtained:

- Check the Mass Air Flow (MAF) Sensor (G70) electrical harness connector terminal 3 to the Power Supply Relay (terminal 50) (J681) terminal 8/87 for an open circuit.

Specified value: 1.5 ohms max.

If no malfunction is detected in the wiring and if the voltage supply was OK:

Checking electrical circuit

If the manufacturers test box is being used, perform the following step.

- Install the test box.

If the manufacturers test box is not being used, perform the following step.

- Remove the Motronic Engine Control Module (ECM) (J623). Refer to the appropriate service information.

- Using a multimeter, check the Mass Air Flow (MAF) Sensor (G70) electrical harness connector terminals to the Motronic Engine Control Module (ECM) (J623) electrical harness connector T94 terminals for an open circuit.










Specified value: 1.5 ohms max.

If the specification is not obtained:

- Check the wiring for a short circuit to each other, Battery (+), and Ground (GND).

- Check the electrical harness connector for damage, corrosion, loose or broken terminals.

- If necessary, repair the faulty wiring connection.

If no malfunction is detected in the wiring and if the voltage supply was OK:

- Replace Mass Air Flow (MAF) Sensor (G70). Refer to appropriate service information.

If no malfunction is detected in the wiring and if the voltage supply was not OK:

- Replace the Motronic Engine Control Module (ECM) (J623). Refer to appropriate service information.

Final procedures

After the repair work, the following work steps must be performed in the following sequence:

1. Check the DTC memory. Refer to => [ Diagnostic Mode 03 - Read DTC Memory ] Diagnostic Modes 01 - 0A.

2. If necessary, erase the DTC memory. Refer to => [ Diagnostic Mode 04 - Erase DTC Memory ] Diagnostic Modes 01 - 0A.

3. If the DTC memory was erased, generate readiness code. Refer to => [ Readiness Code ] Readiness Code.