Operation CHARM: Car repair manuals for everyone.
Manuals through 2025 now available!

Our trusted friends have launched a new website named LEMON, which has newer manuals. It also contains all the CHARM manuals.

LEMON is the spiritual successor to CHARM, I recommend you try it!

Link: lemon-manuals.la or lemon-manuals.org.ua

(Some people have issue connecting. LEMON is investigating. For now, use Firefox or change your DNS server)

Or, hide this message: temporarily or permanently

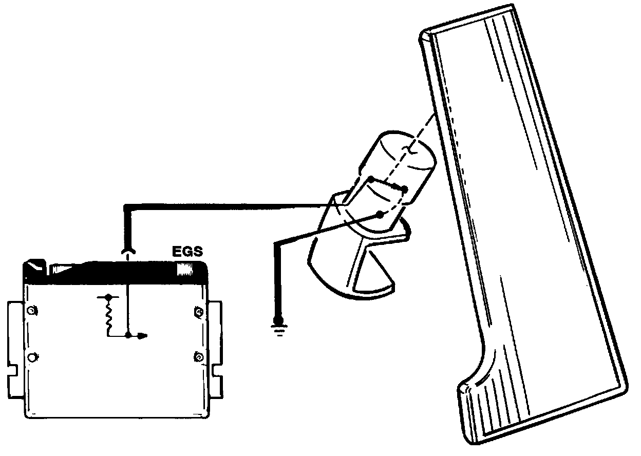
Kickdown Switch/Signal




Kickdown Switch/Signal








Switch:
The kickdown input signal is a request to the TCM to provide a down shift. The request is active when the voltage signal at the control unit is pulled low by the KD switch.

The TCM will carry out the down shift depending on road speed, load and engine RPM.

AGS equipped vehicles also respond to the kick-down switch by changing to the sport mode.

Bosch EML Kickdown Signal: The kickdown signal to the TCM is provided by the EML control module. The EML control module supplies a low signal indicating the PWG is at WOT.

Siemens EML IIIs does not provide a kickdown signal. These vehicles use a kickdown switch as well.