Operation CHARM: Car repair manuals for everyone.
Manuals through 2025 now available!

Our trusted friends have launched a new website named LEMON, which has newer manuals. It also contains all the CHARM manuals.

LEMON is the spiritual successor to CHARM, I recommend you try it!

Link: lemon-manuals.la or lemon-manuals.org.ua

(Some people have issue connecting. LEMON is investigating. For now, use Firefox or change your DNS server)

Or, hide this message: temporarily or permanently

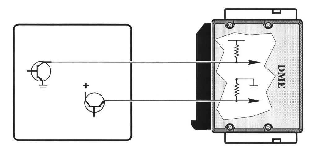
Torque Reduction/Torque Converter Lock Up Status



DME Signal Interface





The TCM provides various output signals to the DME for the following:
- Gear Shift Torque Reduction Request "ME" (momentarily retard ignition timing.)
- Torque Converter Lock Up Clutch Engaged (DME selects alternate ignition timing MAP)

Signal ME: The engine's power is momentarily reduced by the DME system when prompted by the TCM during gear changes (upshift/downshift). The TCM is programmed to produce the power reduction request to the MCU, depending on engine load and speed during gear changes. This signal is a switched ground and is active when the signal is low.

Torque Converter Lock Up Status: When the torque converter clutch is locked, the TCM signals the DME of this condition. The DME changes to a standard shift transmission ignition timing map to maximize performance.


NOTE: Later model vehicles equipped with CAN bus do not require a dedicated circuits for these functions since these status of these functions are provided via CAN bus.