Operation CHARM: Car repair manuals for everyone.
Manuals through 2025 now available!

Our trusted friends have launched a new website named LEMON, which has newer manuals. It also contains all the CHARM manuals.

LEMON is the spiritual successor to CHARM, I recommend you try it!

Link: lemon-manuals.la or lemon-manuals.org.ua

(Some people have issue connecting. LEMON is investigating. For now, use Firefox or change your DNS server)

Or, hide this message: temporarily or permanently

Alignment: Description and Operation


General Information and Definitions





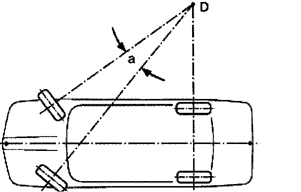
-Toe-difference angle.
-Toe-difference angle.
-Center point of operating circle.


The toe-difference angle is the angle setting of the wheel on the inside of a curve to the wheel on the outside of a curve during cornering. Steering is designed in such a way that angular position of wheels changes as steering lock progresses.
A correctly adjusted toe-difference angle produces equal values for left and right lock and consideration of factory tolerances.
Toe-difference angle provides information on corresponding operation of steering trapezoid for left or right steering lock from center position.

Camber





Inclination of the wheel from the perpendicular.

Toe





Reduction in distance of front of front wheels to rear of front wheels. The toe-in prevents the wheels from moving apart during driving and thus:
the wheels from vibrating and grinding
excessive tire wear
excessive strain on the steering linkage and its links/joints
heavy car steering.
Measurement is performed in "straight-ahead mode".

Caster





Is the inclination of the kingpin in the direction of travel viewed from the side. The line through the center point of the spring strut support bearing and the control arm ball joint corresponds to the "kingpin".
Thanks to caster, wheels are pulled and not pushed. In a similar manner to king-pin inclination, when driving in curves or around corners, returning forces are reproduced to help return wheels to straight-ahead position.

Geometrical axis 1





Is the angle bisector from the total rear-wheel toe.
Front-wheel measurements are taken in reference to this axis.


Symmetrical axis 2
Center line running through front and rear axles.

Wheel offset





Angle by which one front wheel is displaced more towards front or rear than the other front wheel.

Kingpin Offset/Scrub Radius





Is the distance from the center of the wheel contact face to the intersection point of the kingpin extension. The line through the center point of the spring strut support bearing and the control arm ball joint corresponds to the "kingpin".
The scrub radius is influenced by camber, kingpin angle and wheel offset of the wheel rim.