Operation CHARM: Car repair manuals for everyone.
Manuals through 2025 now available!

Our trusted friends have launched a new website named LEMON, which has newer manuals. It also contains all the CHARM manuals.

LEMON is the spiritual successor to CHARM, I recommend you try it!

Link: lemon-manuals.la or lemon-manuals.org.ua

(Some people have issue connecting. LEMON is investigating. For now, use Firefox or change your DNS server)

Or, hide this message: temporarily or permanently

Rear Subframe Mount: Service and Repair

33 33 111 Replacing All Rubber Mounts for Rear Axle Carrier

Special Tools Requires:
- 33 4 140
- 33 4 145
- 33 4 148
- 33 4 149
- 33 4 155
- 33 4 156
- 33 4 157
- 33 4 158
- 33 4 159

Warning!
Danger of Explosion!
Do not point air jet from hot air blower at fuel tank!

Necessary Preliminary Tasks:

- Lower rear axle carrier






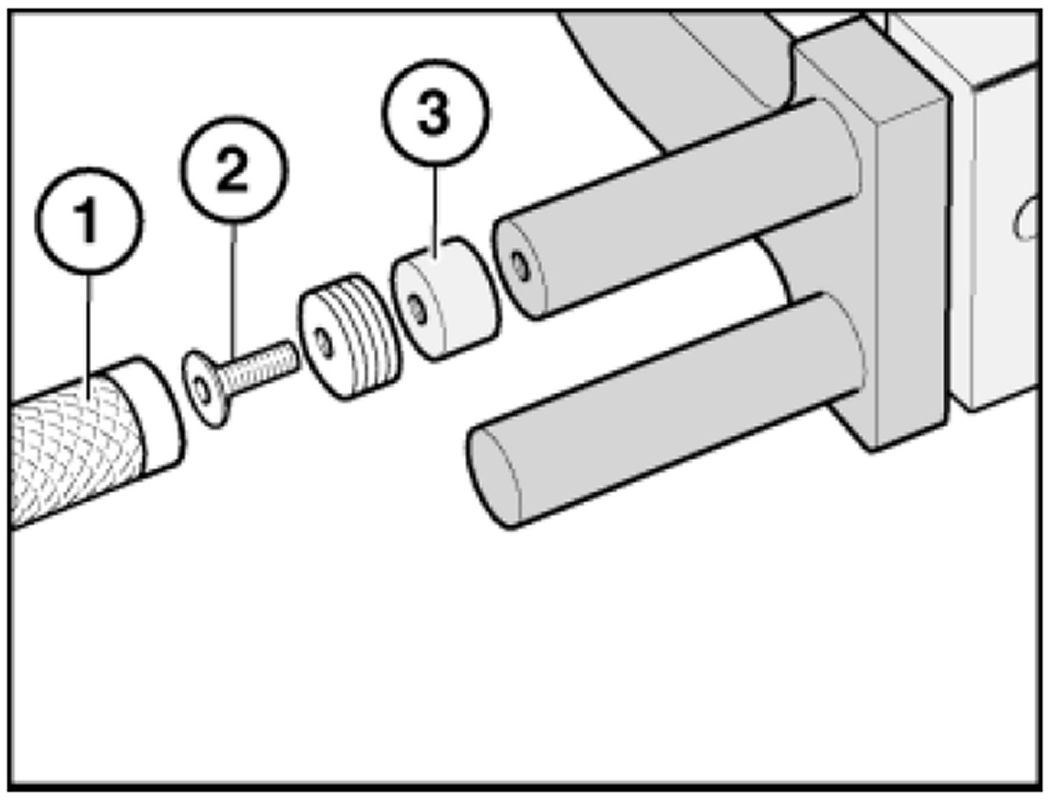
Assemble special tool 33 4 140 with 33 4 148 and 33 4 149.

NOTE:
Mount special tool 33 4 149 in accordance with the diameter of the rubber mount.
Letter A = dia 80 mm
Letter B = dia 95 mm






Unscrew feed handle (1). If necessary, mount extension piece (3) on special tool 33 4 145 with new screw (2).






Fit special tools 33 4 140, 33 4 155, 33 4 156, 33 4 158 on openings in rubber mount.

Note:
Ensure it is correctly supported on busshing of rear axle carrier.

Using a hot air blower, hear bearing bushing at max. 600°C outlet temperature for appox. 2 minutes.

Pull out rubber mount by turning special tool 33 4 155.

Coat rubber mount with Circolight anti-friction agent.






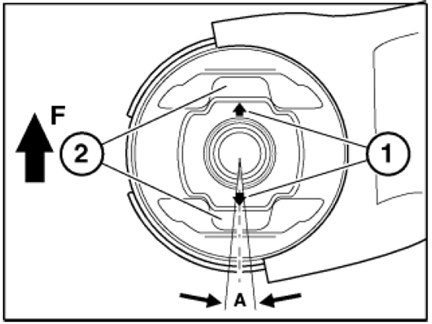
Important!
Arrows (1) or stops (2) of inner sleeve must point in vehicle longitudinal direction (F) when rubber mount is installed. A maximum deviation (A) of +/- 7° must be observed.






Draw in rubber mount with special tools 33 4 155, 33 4 156, 33 4 157 and 33 4 159 as far as it will go.