Operation CHARM: Car repair manuals for everyone.
Manuals through 2025 now available!

Our trusted friends have launched a new website named LEMON, which has newer manuals. It also contains all the CHARM manuals.

LEMON is the spiritual successor to CHARM, I recommend you try it!

Link: lemon-manuals.la or lemon-manuals.org.ua

(Some people have issue connecting. LEMON is investigating. For now, use Firefox or change your DNS server)

Or, hide this message: temporarily or permanently

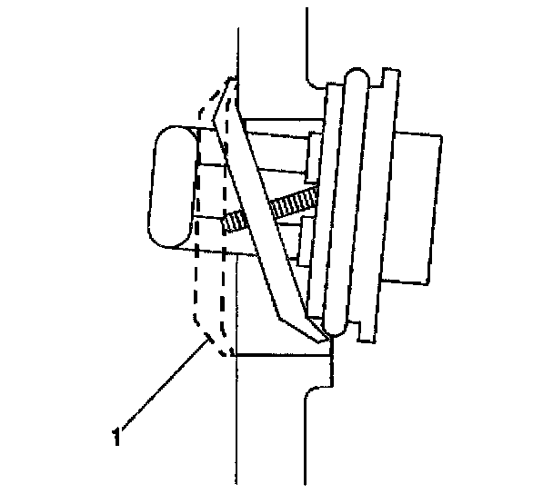
Engine Block Heater: Service and Repair

Removal Procedure





1. Drain the engine coolant. Refer to Draining and Filling Cooling System.
2. Raise and support the vehicle. Refer to Vehicle Lifting.
3. Remove the lower radiator air deflector. Refer to Air Deflector Replacement - Front in Body and Frame.
4. Remove the cord (2) from the engine coolant heater (1).
5. Loosen the bolt at the engine coolant heater but do not remove.
6. Remove the engine coolant heater.
7. Remove and clean any burrs, compound, paint, or rough spots from the core plug hole.

Installation Procedure





1. Apply a coat of Permatex (R) Thread Sealant with Teflon to the O-ring and clean the surface of the plug opening.
2. Install the coolant heater (1) by pushing tight to the block.
3. Install the coolant heater so the element is positioned at approximately the 3 o'clock position.

Notice: Refer to Fastener Notice in Service Precautions.





4. Tighten the bolt until both locking wings (1) draw tight against the inner wall of the engine block.
- Tighten the bolt to 2 Nm (18 inch lbs.).

Notice: The heater cord must not touch the engine, hot pipes, manifold, or any moving parts. Route the cord to the left front of the engine compartment securing with tie straps as necessary to prevent damage.

5. Install the heater cord to the engine coolant heater.
6. Fill the engine cooling system. Refer to Draining and Filling Cooling System.
7. Inspect for coolant leaks. Refer to Cooling System Leak Testing.
8. Install the lower radiator air deflector. Refer to Air Deflector Replacement - Front in Body and Frame.