Operation CHARM: Car repair manuals for everyone.
Manuals through 2025 now available!

Our trusted friends have launched a new website named LEMON, which has newer manuals. It also contains all the CHARM manuals.

LEMON is the spiritual successor to CHARM, I recommend you try it!

Link: lemon-manuals.la or lemon-manuals.org.ua

(Some people have issue connecting. LEMON is investigating. For now, use Firefox or change your DNS server)

Or, hide this message: temporarily or permanently

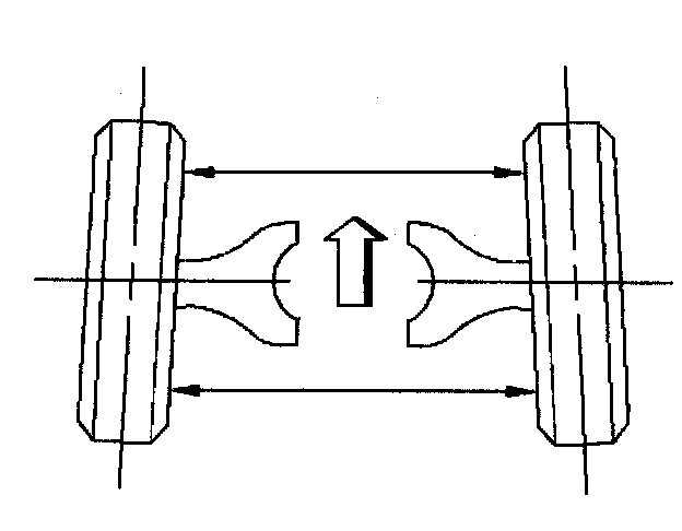
Toe Description





Toe is a measurement of how much the front or rear of the wheels are turned in or out from a straight-ahead position. When the wheels are turned in, toe is positive. When the wheels are turned out, toe is negative. The actual amount of toe is normally only a fraction of a degree.
Toe functions in order to ensure that the wheels roll parallel. Toe also offsets the small deflections of the wheel support system that occur when the vehicle is rolling forward. The wheels are set to toe-in slightly when the vehicle is standing still. Wheels that have the proper toe will tend to roll parallel on the road when the vehicle is moving.
An incorrect toe condition will cause abnormal tire wear and decreased fuel economy.