Operation CHARM: Car repair manuals for everyone.
Manuals through 2025 now available!

Our trusted friends have launched a new website named LEMON, which has newer manuals. It also contains all the CHARM manuals.

LEMON is the spiritual successor to CHARM, I recommend you try it!

Link: lemon-manuals.la or lemon-manuals.org.ua

(Some people have issue connecting. LEMON is investigating. For now, use Firefox or change your DNS server)

Or, hide this message: temporarily or permanently

Windshield: Service and Repair



Windshield Replacement


Tools Required
* J 24402-A Glass Sealant (Cold Knife) Remover
* J 39032 Stationary Glass Removal Tool
* Isopropyl alcohol or Equivalent
* Cartridge-type Caulking Gun
* Commercial-type Utility Knife
* Razor Blade Scraper
* Suction Cups
* Plastic Paddle



Removal Procedure


Important: Before cutting out a stationary window, apply a double layer of masking tape around the perimeter of the painted surfaces and the interior trim.


1. Open the hood.
2. Remove the windshield wiper arms. Refer to Windshield Wiper Arm Replacement.
3. Remove the air inlet grille. Refer to Air Inlet Grille Panel Replacement (Service and Repair) in Body Front End.
4. Remove the door sealing weatherstrip from the upper pinchweld flange.
5. Remove the windshield reveal molding. Refer to Windshield Reveal Molding Replacement.

Caution: If broken glass falls into the defroster outlets, it can be blown into the passenger compartment and cause personal injury.

6. Cover to protect the following parts from broken glass:

1. Upper dash pad.
2. Defroster outlets and A/C outlets.
3. Seats and carpeting.

7. Remove the inside rearview mirror. Refer to Inside Rearview Mirror Replacement (DD7) (Rearview Mirror Replacement (DD7)) .
8. Remove the outside moisture sensor, if equipped. Refer to Windshield Outside Moisture Sensor Replacement.
9. Remove the windshield garnish moldings. Refer to Windshield Pillar Garnish Molding Replacement (Windshield Pillar Garnish Molding Replacement) in Interior Trim.
10. Remove the instrument panel upper trim pad. Refer to Instrument Panel Upper Trim Pad Replacement (Service and Repair) in IP Upper in Instrument Panel, Gauges and Console.





Caution: When working with any type of glass or sheet metal with exposed or rough edges, wear approved safety glasses and gloves in order to reduce the chance of personal injury.


Important: The windshield reveal molding fills the cavities between the body and windshield and can not be reused if stretched or damaged.


11. Remove the windshield reveal molding.

1. Grasp the lower corner of the windshield reveal molding by hand and slowly pull the reveal molding away from the windshield.
2. If the windshield reveal molding will not release, use a utility knife in order to cut around the windshield in order to remove the windshield reveal molding.





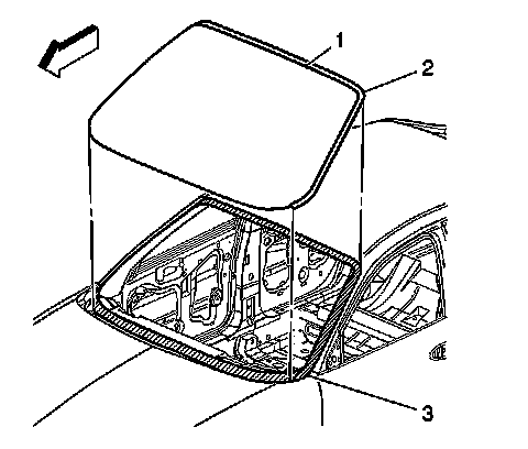
12. Remove the lower windshield supports (1) from the cowl panel, if equipped.





Important: Keep the cutting edge of the tool against the windshield.


13. This will allow the urethane adhesive to be separated from the windshield.

* Leave a base of urethane on the pinchweld flange.
* The only suitable lubrication is clear water.
* Use the J 24402-A or J 39032 in order to remove the window.





14. With the aid of an assistant remove the windshield from the vehicle.



Installation Procedure





1. Install the lower window supports (1) to the cowl panel, if equipped.




2. If the original window reveal molding (1) is damaged it must be replaced.
Install the window reveal molding. Refer to .
3. Replace the acoustic strip if damaged when removing.




4. With the aid of an assistant, dry fit the window (1) in the opening in order to determine the correct way to position the window in the opening.




5. Use masking tape (1) in order to mark the location of the window (2) in the opening.
6. Slit the masking tape at the top edge and sides of the window.




7. With the aid of assistant remove the window (1) from the opening.
8. Place the window inside up on a clean, protected surface.
9. Inspect for any of the following problems in order to help prevent future breakage of the window:
10. Inspect the following components for the causes of a broken window:

* The flange of the window opening
* The window reveal molding

11. Inspect for any of the following problems in order to help prevent future breakage of the window:

* High weld
* Solder spots
* Hardened spot weld sealer
* Any other obstruction or irregularity in the pinchweld flange.


Important: If corrosion of the pinchweld flange is present, or if sheet metal repairs or replacements are required, the pinchweld flange must be refinished in order to restore the bonding area strength. If paint repairs are required, mask the flange bonding area prior to applying the color coat in order to provide a clean primer only surface. Materials such as BASF DE17(R), DuPont 2610(R), Sherwin-Williams PSE 4600 and NP70(R) and Martin-Semour 5120 and 5130(R) products are approved for this application.


12. After repairing the opening do the following.
13. Inspect the condition of the window opening and the urethane adhesive bead to determine which installation method should be used. Refer to Short Method Description (Short Method Description) or Extended Method Description (Extended Method Description) for guidelines.
14. Remove no more of the urethane adhesive from the pinchweld than necessary in order to maintain the original shape. This will ensure the proper clearance between the window and the pinchweld flange.

Important: Do not remove all traces of the adhesive. Remove all mounds or loose pieces of urethane adhesive.


15. If the original window is being reused remove all but a thin film of the existing urethane adhesive from the window surface by using a clean utility knife or razor blade scraper.
16. If the extended method is being used remove all but approximately 2 mm (3/64 in) of the existing bead of urethane adhesive from the pinchweld flange.
17. After repairing the opening, remove all traces of broken glass from the outer cowl panel, seats, floor and defroster ducts.
18. Clean around the edge of the inside surface of the window with a 50/50 mixture of isopropyl alcohol and water by volume on a dampened lint free cloth.

Caution: When replacing stationary windows, use Urethane Adhesive Kit GM P/N 12346392 (Canadian P/N 10952983), or a urethane adhesive system meeting GM Specification GM3651G, to maintain original installation integrity. Failure to use the urethane adhesive kit will result in poor retention of the window which may allow unrestrained occupants to be ejected from the vehicle resulting in personal injury.

19. Verify all primers and urethane adhesive are within expiration dates.





Caution: Failure to prep the area prior to the application of primer may cause insufficient bonding of urethane adhesive. Insufficient bonding of urethane adhesive may allow unrestrained occupants to be ejected from the vehicle resulting in personal injury.


Important: Do not apply the (black #3 primer to the existing bead of the urethane adhesive. Apply only to nicks, scratches or the primed surfaces.


20. Shake the pinchweld primer (black #3) for at least 1 minute.
21. Use a new dauber to apply the pinchweld primer (black #3) to the surface (1) of the bonding area on the body only.
22. Allow the primer to dry for approximately 10 minutes.




23. Install the spacers and the VIN plate filler strip, if equipped.





Important: Use care when applying prep (clear #1) on the window. This primer dries almost instantly, and may stain the viewing area of the window if not applied evenly.


24. Use a new dauber in order to apply glass prep (clear #1) to the area approximately 10-16 mm (3/8-5/8 in) around the entire perimeter of the window inner surface.




25. Apply a second coat of the glass prep number (clear #1) to the same area of the glass.
Wipe the glass primed area immediately with a clean lint free cloth.




26. Shake the glass primer (black #2) for at least 1 minute.

1. Use a new dauber in order to apply the glass primer (black #2) to the same areas (2) that glass prep (clear #1) was applied.
2. The glass primer (black #2) is good up to 8 hours after applying it to the glass. The primed surface of the glass must be kept clean.
3. Allow the glass primer to dry for approximately 10 minutes.





27. If using the short method, cut the tip of the applicator nozzle in order to provide a bead of 6.0 mm (1/4 in).
28. If using the extended method, cut the applicator nozzle in order to provide a bead of 12.7 mm (1/2 in) wide and 12.7 mm (1/2 in) high.




29. Use a cartridge type caulking gun to apply a smooth, continuous bead of urethane adhesive.
30. When using the short method, apply the urethane adhesive to the existing bead of urethane adhesive on the body.




31. When using the extended method, use the edge of the windshield window or the inside edge of the reveal molding as a guide for the nozzle in order to apply the urethane adhesive (1) to the inner surface of the windshield window (3).
If applying urethane adhesive to the inside edge of the windshield reveal molding (1) use the windshield reveal molding as a guide for the nozzle.




32. Use suction cups, along with the aid of an assistant to install the windshield into the opening.




33. Place the windshield on the lower supports (1).




34. Align the masking tape (1, 2) on the windshield (3) and the body.




35. Press the windshield firmly into place.
36. Tape the windshield to the body in order to minimize movement until the urethane adhesive cures.




37. Clean any excess urethane adhesive from the body.





Important: Do not direct a hard stream of high pressure water at the fresh urethane adhesive.


38. Use a soft spray of warm water in order to immediately water test the rear window.
39. Inspect the rear window for leaks.
40. If any leaks are found, use a plastic paddle in order to apply extra urethane at the leak point.
41. Retest the rear window for leaks.

Caution: Insufficient curing of urethane adhesive may allow unrestrained occupants to be ejected from the vehicle resulting in personal injury.

* For the moisture-curing type of urethane adhesive, allow a minimum of 6 hours at 21°C (70°F) or greater and with at least 30 percent relative humidity. Allow at least 24 hours for the complete curing of the urethane adhesive.
* For the chemical-curing type of urethane adhesive, allow a minimum of 1 hour .

Do NOT physically disturb the repair area until after these minimum times have elapsed.

42. The following conditions must be maintained to properly cure the urethane adhesive:

1. Partially lower a door rear window in order to prevent pressure buildups when closing doors before the urethane adhesive cures.
2. Do not drive the vehicle until the urethane adhesive is cured. Refer to the above curing times.
3. Do not use compressed air in order to dry the urethane adhesive.

43. Install the windshield garnish moldings. Refer to Windshield Pillar Garnish Molding Replacement (Windshield Pillar Garnish Molding Replacement) in Interior Trim.
44. Install the inside rearview mirror. Refer to Inside Rearview Mirror Replacement (DD7) (Rearview Mirror Replacement (DD7)) .
45. Install the instrument panel upper trim pad. Refer to Instrument Panel Upper Trim Pad Replacement (Service and Repair) in Instrument Panel, Gauges and Console.
46. Install the outside Rain sensor, if equipped. Refer to Windshield Outside Moisture Sensor Replacement.
47. Install the door sealing weatherstrip to the upper pinchweld flange.
48. Install the air inlet grille. Refer to Air Inlet Grille Panel Replacement (Service and Repair) in Body Front End.
49. Install the windshield wiper arms. Refer to Windshield Wiper Arm Replacement.
50. Remove the double layer of masking tape from around the perimeter of the painted surfaces and the interior trim.
51. Close the hood.