Operation CHARM: Car repair manuals for everyone.
Manuals through 2025 now available!

Our trusted friends have launched a new website named LEMON, which has newer manuals. It also contains all the CHARM manuals.

LEMON is the spiritual successor to CHARM, I recommend you try it!

Link: lemon-manuals.la or lemon-manuals.org.ua

(Some people have issue connecting. LEMON is investigating. For now, use Firefox or change your DNS server)

Or, hide this message: temporarily or permanently

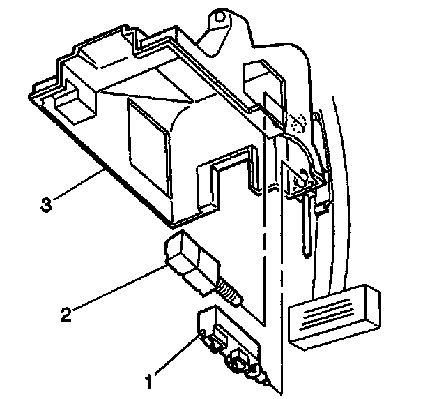
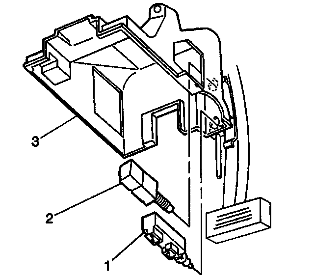
Brake Light Switch: Service and Repair

Removal Procedure
1. Remove the driver's side instrument panel insulator. Refer to Insulator Replacement-IP (LH) or Insulator Replacement-IP (RH) in Instrument Panel, Gauges and Warning Indicators.
2. Disconnect the electrical connectors.





3. Remove the stoplamp switch (1) from the brake pedal bracket (3).

Installation Procedure





1. Install the stoplamp switch (1) to the brake pedal bracket (3).
2. Connect the electrical connectors.
3. Install the driver's side instrument panel insulator. Refer to Insulator Replacement-IP (LH) or Insulator Replacement-IP (RH) in Instrument Panel, Gauges and Warning Indicators.
4. Adjust the stoplamp switch. Refer to Stoplamp Switch Adjustment.