Operation CHARM: Car repair manuals for everyone.
Manuals through 2025 now available!

Our trusted friends have launched a new website named LEMON, which has newer manuals. It also contains all the CHARM manuals.

LEMON is the spiritual successor to CHARM, I recommend you try it!

Link: lemon-manuals.la or lemon-manuals.org.ua

(Some people have issue connecting. LEMON is investigating. For now, use Firefox or change your DNS server)

Or, hide this message: temporarily or permanently

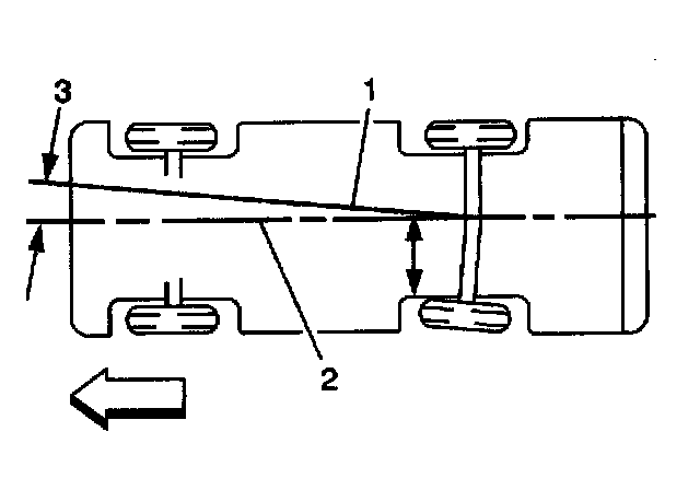
Thrust Angle Description





The front wheels aim or steer the vehicle. The rear wheels control tracking. This tracking action relates to the thrust angle. The thrust angle is the path that the rear wheels take. Ideally, the thrust angle is geometrically aligned with the body centerline (2).
In the illustration, toe-in is shown on the left rear wheel, moving the thrust line off center. The resulting deviation (3) from the centerline is the thrust angle (1).