Operation CHARM: Car repair manuals for everyone.
Manuals through 2025 now available!

Our trusted friends have launched a new website named LEMON, which has newer manuals. It also contains all the CHARM manuals.

LEMON is the spiritual successor to CHARM, I recommend you try it!

Link: lemon-manuals.la or lemon-manuals.org.ua

(Some people have issue connecting. LEMON is investigating. For now, use Firefox or change your DNS server)

Or, hide this message: temporarily or permanently

Air Cleaner Housing: Service and Repair

REMOVAL PROCEDURE




1. Disconnect the IAT sensor electrical connector.
2. Remove the 3 bolts from the inner fender brace and remove the brace.
3. Loosen the clamp securing the air intake duct to the air cleaner housing (1).
4. Carefully remove the air intake duct from the throttle body and air cleaner housing (1).
5. Remove the 2 screws (2) from the 2 air cleaner housing sections.
6. Remove the air cleaner housing cover assembly.
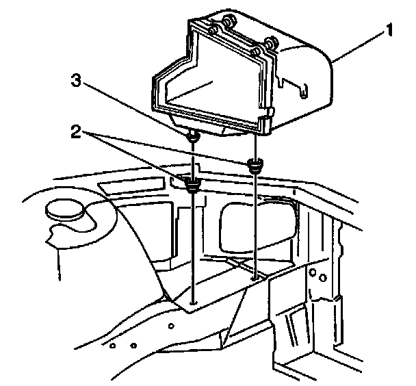
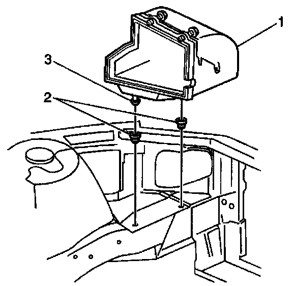
7. Without disconnecting the PCM connectors, remove the PCM and harness from the PCM housing (1).




8. Carefully remove the PCM housing (1) by pulling the housing from the 2 rubber grommets (2) in the engine compartment. Inspect the assembly for signs of damage and replace if required.

INSTALLATION PROCEDURE




1. Carefully install the PCM housing (1) by pushing the housing into the 2 rubber grommets (2) in the engine compartment.




2. Carefully install the PCM (4) and harness into the PCM housing (3).
3. Install the air cleaner housing cover assembly (1).
4. Install the 2 screws (2) into the 2 air cleaner housing sections.
5. Carefully install the air intake duct to the throttle body and air cleaner housing (1).
6. Tighten the clamp securing the air intake duct to the air cleaner housing (1).
7. Position the inner fender brace and install the 3 bolts.