Operation CHARM: Car repair manuals for everyone.
Manuals through 2025 now available!

Our trusted friends have launched a new website named LEMON, which has newer manuals. It also contains all the CHARM manuals.

LEMON is the spiritual successor to CHARM, I recommend you try it!

Link: lemon-manuals.la or lemon-manuals.org.ua

(Some people have issue connecting. LEMON is investigating. For now, use Firefox or change your DNS server)

Or, hide this message: temporarily or permanently

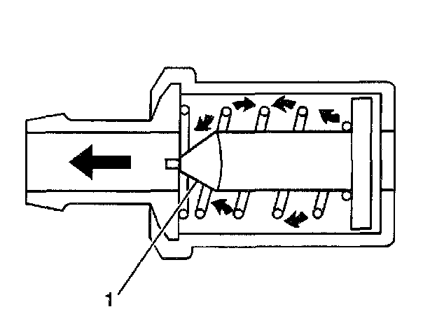
Operation










The primary control is through the crankcase ventilation valve (1) which meters the flow at a rate depending on Inlet vacuum. To maintain idle quality, the crankcase ventilation valve restricts the flow when Inlet vacuum is high. If abnormal operating conditions arise, the system is designed to allow excessive amounts of blow-by gases to back flow through the crankcase vent Into the throttle body to be consumed by normal combustion.