Operation CHARM: Car repair manuals for everyone.
Manuals through 2025 now available!

Our trusted friends have launched a new website named LEMON, which has newer manuals. It also contains all the CHARM manuals.

LEMON is the spiritual successor to CHARM, I recommend you try it!

Link: lemon-manuals.la or lemon-manuals.org.ua

(Some people have issue connecting. LEMON is investigating. For now, use Firefox or change your DNS server)

Or, hide this message: temporarily or permanently

Fluid Pump: Service and Repair

Removal Procedure





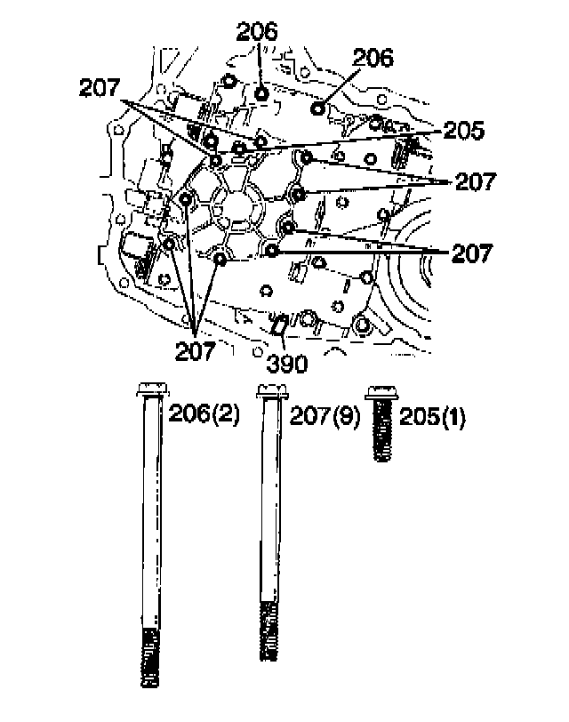
1. Remove the case side cover. Refer to Case Side Cover Replacement.

Notice: Do NOT remove the three bolts, which hold the pump together.

2. Remove the oil pump bolts (205-207).





3. Remove the oil pump (200) form the valve body (300).
4. Inspect the oil pump. Refer to the Transaxle Unit Repair.

Installation Procedure





1. Install the oil pump (200) to the valve body (300).

Notice: Refer to Fastener Notice in Service Precautions.





2. Install the oil pump bolts (205-207).
Tighten
^ Tighten the M6 X 1.0 X 20 bolt to 8 Nm (70 inch lbs.).
^ Tighten the M6 X 1.0 X 85 bolt to 12 Nm (106 inch lbs.).
^ Tighten the M6 X 1.0 X 95 bolt to 12 Nm (106 inch lbs.).
3. Install the case side cover. Refer to Case Side Cover Replacement.