Operation CHARM: Car repair manuals for everyone.
Manuals through 2025 now available!

Our trusted friends have launched a new website named LEMON, which has newer manuals. It also contains all the CHARM manuals.

LEMON is the spiritual successor to CHARM, I recommend you try it!

Link: lemon-manuals.la or lemon-manuals.org.ua

(Some people have issue connecting. LEMON is investigating. For now, use Firefox or change your DNS server)

Or, hide this message: temporarily or permanently

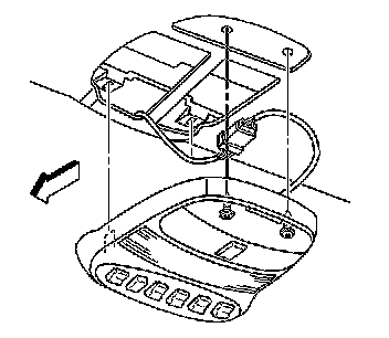
Roof Console Replacement



Roof Console Replacement

Removal Procedure




1. Remove the dome lamp lenses by gently prying the lenses from the console.
2. Remove the 2 screws that retain the console to the roof panel.
3. Release the front retaining tabs.
4. Lower the console and disconnect the electrical connectors as needed.
5. Remove the console from the vehicle
6. If replacing the console, remove the garage door opener if equipped.
7. If replacing the console, remove the OnStar(R) microphone if equipped.
8. If replacing the console, remove the power sunroof switch if equipped. R
9. If replacing the console, remove the noise cancellation microphone if equipped.

Installation Procedure

1. If replacing the console, install the noise cancellation microphone if equipped.
2. If replacing the console, install the power sunroof switch if equipped.
3. If replacing the console, install the OnStar(R) microphone if equipped.
4. If replacing the console, install the garage door opener if equipped.




5. Position the console to the roof panel.
6. Connect the electrical connectors as needed.
7. Seat the front retaining tabs.

Notice: Refer to Fastener Notice.

8. Install the 2 screws retaining the console to the roof panel.

Tighten the screws to 1.2 N.m (10 lb in).

9. Install the dome lamp lenses.