Operation CHARM: Car repair manuals for everyone.
Manuals through 2025 now available!

Our trusted friends have launched a new website named LEMON, which has newer manuals. It also contains all the CHARM manuals.

LEMON is the spiritual successor to CHARM, I recommend you try it!

Link: lemon-manuals.la or lemon-manuals.org.ua

(Some people have issue connecting. LEMON is investigating. For now, use Firefox or change your DNS server)

Or, hide this message: temporarily or permanently

Seat Latch: Service and Repair



Rear Seat Number 1 Cushion Latch Release Assembly Replacement (TrailBlazer, Envoy, Rainier)

Removal Procedure

1. Remove the rear seat cushion assembly from the vehicle.
2. Remove the rear seat cushion cover and the pad.




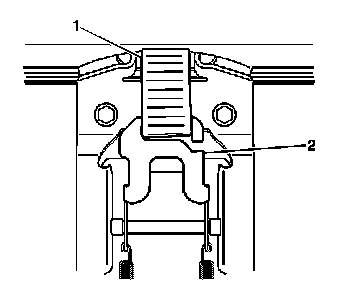
3. Remove the strap (1) from the rear seat cushion latch (2).




4. Remove the 3 bolts securing the rear seat cushion latch to the seat pan.

Installation Procedure





Notice: Refer to Fastener Notice.

1. Install the 3 bolts securing the rear seat cushion latch to the seat pan.

Tighten the rear seat cushion latch release bolts to 10 N.m (88 lb in).




2. Install the small loop (1) onto the rear seat cushion latch (2).
3. Install the strap through the opening in the seat pan.
4. Install the rear seat cushion cover and the pad.
5. Install the rear seat cushion assembly to the vehicle.