Operation CHARM: Car repair manuals for everyone.
Manuals through 2025 now available!

Our trusted friends have launched a new website named LEMON, which has newer manuals. It also contains all the CHARM manuals.

LEMON is the spiritual successor to CHARM, I recommend you try it!

Link: lemon-manuals.la or lemon-manuals.org.ua

(Some people have issue connecting. LEMON is investigating. For now, use Firefox or change your DNS server)

Or, hide this message: temporarily or permanently

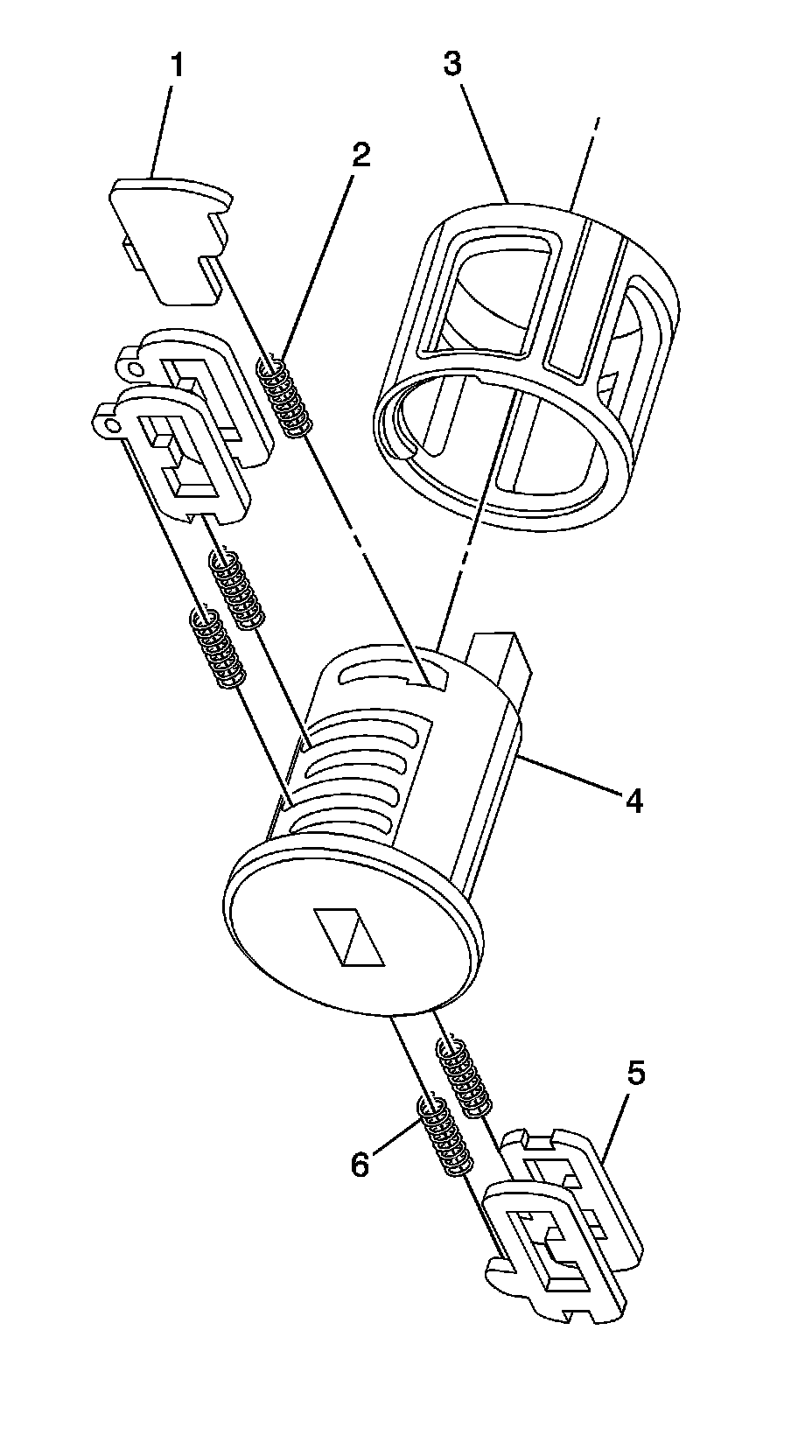
Instrument Panel Compartment Door Lock Cylinder Coding




Instrument Panel Compartment Door Lock Cylinder Coding

The internal lock cylinder only uses 4 of the 8 cut positions, 5-8. The tumbler positions are on both sides, are not self-retaining, and are not snap in.





Note: All lock cylinders for side milled keys have right and left tumblers. The location of the tooth of the tumbler determines whether it is right of left. Illustrations in this procedure show the right tumblers on the top and the left tumblers on the bottom. All tumblers are marked 1R, 1L, 2R, or 2L. The number being cut depth and the letter meaning right or left.

1. Hold the instrument panel (I/P) cylinder assembly (4) so the side with the tumbler spring pocket located closest to the head of the cylinder is facing up. This side of the cylinder uses left tumbler.
2. Insert the tumbler spring (6) into each of the 2 spring pockets of the cylinder assembly. This side uses left tumblers.
3. The first tumbler (5) to be loaded (closest to the head of the cylinder) will be the fifth key cut position, which is the fifth number in the key code. Install the tumbler in the slot over the spring. Install the remaining tumblers following the key code and same process, pressing the tumblers in place until they are secure.
4. Rotate the cylinder assembly. Insert the tumbler spring (6) into each of the spring pockets of the cylinder assembly. This side uses right tumblers.
5. The first tumbler (5) to be loaded will be the sixth key cut position, the sixth number in the key code. Install the first tumbler in the slot over the spring. Install the remaining tumblers following the key code and same process, pressing the tumblers in place until they are secure.
6. Inspect for correct loading of the tumblers by inserting the key into the cylinder. All tumblers should drop flush with the lock cylinder body diameter.
7. Insert the sleeve (3) into the cylinder, the inner sleeve slot must be oriented to the head cylinder side. Rotate the sleeve until the slot match with the tab.
8. Insert the retainer spring (2) into the pocket and the tumbler retainer (1) over the spring. Make sure the tumbler retainer is properly seated and cannot pull out.
9. Lightly lubricate the outside surface in the tumbler area of the lock body and down the key slot using the provided grease. Insert and extract the key 5 times to lubricate the keyway.
10. When the key is removed, the lock should stay together.
11. Insert the key and function the lock 3 times to distribute the grease inside the sleeve.
12. Verify the key position for inserting the lock into the I/P compartment door.