Operation CHARM: Car repair manuals for everyone.
Manuals through 2025 now available!

Our trusted friends have launched a new website named LEMON, which has newer manuals. It also contains all the CHARM manuals.

LEMON is the spiritual successor to CHARM, I recommend you try it!

Link: lemon-manuals.la or lemon-manuals.org.ua

(Some people have issue connecting. LEMON is investigating. For now, use Firefox or change your DNS server)

Or, hide this message: temporarily or permanently

Positive: Service and Repair

REMOVAL PROCEDURE




1. Disconnect the negative battery cable.
2. Unsnap the positive battery cable cap.
3. Disconnect the positive battery cable.




4. Loosen the positive battery cable bolt at the underhood bussed electrical center (UBEC).

IMPORTANT: The bolt is integral to the battery cable and is not removable.




5. If necessary, remove the engine sight shield.
6. Unsnap the junction block cover.
7. Remove the positive battery cable (1) from the junction block.




8. If equipped with a 4.8L, 5.3L, or 6.0L engine, remove the negative cable clip from the positive cable clip.
9. Raise and suitably support the vehicle. Refer to Vehicle Lifting.




10. If equipped with a 8.1L engine, remove the negative cable clip from the positive cable clip.
11. Raise and suitably support the vehicle. Refer to Vehicle Lifting.




12. Remove the positive battery cable channel bolt.
13. Slide the channel pin out of the oil pan tab.
14. Remove the positive battery cable from the channel.




15. If equipped with a 4.8L, 5.3L, or 6.0L engine, remove the battery cable bracket bolt and bracket from the power steering pump.




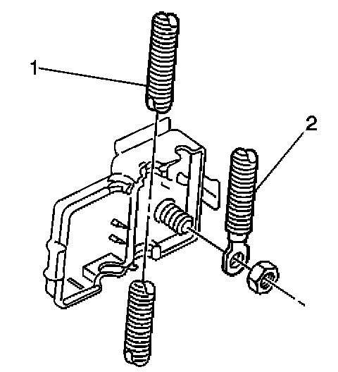
16. If equipped with a 4.8L, 5.3L, or 6.0L engine, remove the positive cable nut (1).
17. Remove the positive cable from the starter.
18. Remove the positive cable clip from the clip on the oil pan.
19. Remove the positive cable from the clip on the oil pan.
20. Remove the positive battery cable.




21. If equipped with a 8.1L engine, remove the positive cable nut (2).
22. Remove the positive cable (1) from the starter.
23. Remove the positive cable clip bolt (3).
24. Remove the positive cable from the engine harness clip.
25. Remove the positive battery cable.

INSTALLATION PROCEDURE




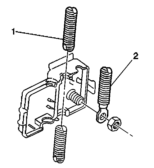
1. If equipped with a 8.1L engine, install the positive battery cable.
2. Install the positive cable to the engine harness clip.

NOTE: Refer to Fastener Notice in Service Precautions.

3. Install the positive cable clip bolt (3).

Tighten
Tighten the bolt to 8 N.m (71 lb in).

4. Install the positive cable (1) to the starter.
5. Install the positive cable nut (2).

Tighten
Tighten the nut to 9 N.m (80 lb in).




6. If equipped with a 4.8L, 5.3L, or 6.0L engine, install the positive battery cable.
7. Install the positive cable to the clip on the oil pan.
8. Install the positive cable clip to the clip on the oil pan.
9. Install the positive cable to the starter.
10. Install the positive cable nut (1).

Tighten
Tighten the nut to 9 N.m (80 lb in).




11. If equipped with a 4.8L, 5.3L, or 6.0L engine, install the battery cable bracket and bolt to the power steering pump.

Tighten
Tighten the bolt to 25 N.m (18 lb ft).




12. Install the positive battery cable to the channel.
13. Slide the channel pin into the oil pan tab.
14. Install the positive battery cable channel bolt.

Tighten
Tighten the bolt to 12 N.m (106 lb in).

15. Lower the vehicle.




16. If equipped with a 8.1L engine, install the negative cable clip to the positive cable clip.




17. If equipped with a 4.8L, 5.3L, or 6.0L engine, install the negative cable clip to the positive cable clip.




18. Install the positive battery cable (1) into the junction block.
19. Snap the junction block cover closed.
20. If necessary, install the engine sight shield.




21. Tighten the positive cable bolt at the UBEC.

Tighten
Tighten the bolt to 9 N.m (80 lb in).




22. Connect the positive battery cable.

Tighten
Tighten the bolt to 17 N.m (13 lb ft).

23. Snap the positive battery cable cap closed.
24. Connect the negative battery cable.