Operation CHARM: Car repair manuals for everyone.
Manuals through 2025 now available!

Our trusted friends have launched a new website named LEMON, which has newer manuals. It also contains all the CHARM manuals.

LEMON is the spiritual successor to CHARM, I recommend you try it!

Link: lemon-manuals.la or lemon-manuals.org.ua

(Some people have issue connecting. LEMON is investigating. For now, use Firefox or change your DNS server)

Or, hide this message: temporarily or permanently

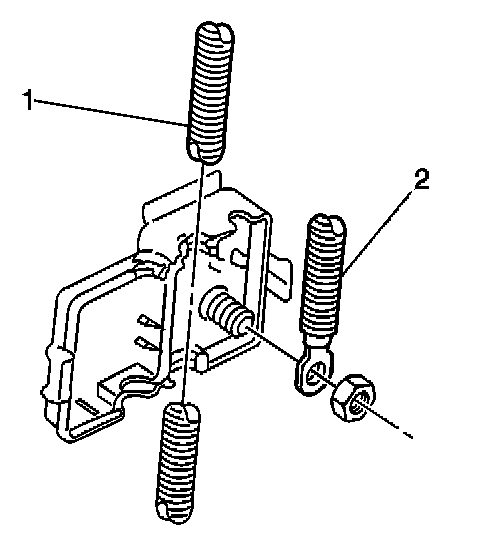
Generator Cable Replacement

REMOVAL PROCEDURE




1. Disconnect the negative battery cable.
2. If necessary, remove the engine sight shield.
3. Remove the generator cable from the generator, perform the following:
3.1. Reposition the boot to expose the stud.
3.2. Remove the generator cable nut.
3.3. Remove the generator cable from the stud.




4. Open the positive cable junction block.
5. Remove the generator cable nut.
6. Remove the generator cable (2) from the junction block.

INSTALLATION PROCEDURE




1. Install the generator cable (2) to the junction block.

NOTE: Refer to Fastener Notice in Service Precautions.

2. Install the generator cable nut.

Tighten
Tighten the nut to 9 N.m (80 lb in).

3. Close the positive cable junction block.




4. Install the generator cable to the generator, perform the following:
4.1. Install the generator cable to the stud.
4.2. Install the generator cable nut.

Tighten
Tighten the nut to 9 N.m (80 lb in).

4.3. Position the boot to cover the stud.

5. If necessary, install the engine sight shield.
6. Connect the negative battery cable.