Operation CHARM: Car repair manuals for everyone.
Manuals through 2025 now available!

Our trusted friends have launched a new website named LEMON, which has newer manuals. It also contains all the CHARM manuals.

LEMON is the spiritual successor to CHARM, I recommend you try it!

Link: lemon-manuals.la or lemon-manuals.org.ua

(Some people have issue connecting. LEMON is investigating. For now, use Firefox or change your DNS server)

Or, hide this message: temporarily or permanently

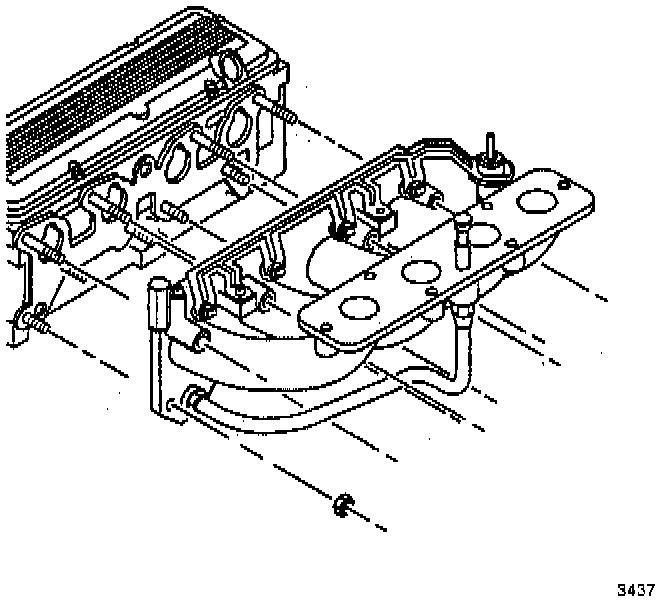
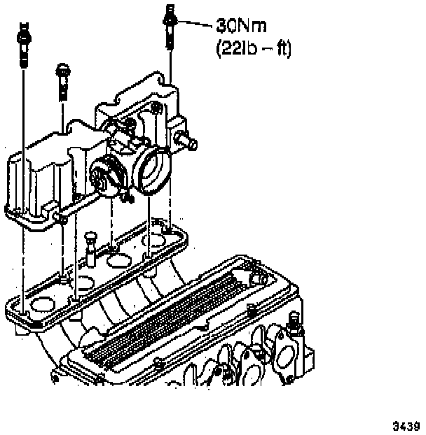
Intake Manifold installation

1. Clean the sealing surface of the cylinder head.





2. Clean the sealing surfaces of the upper and lower manifold halves.





3. Clean any excess carbon deposits from the EGR injector.
4. Inspect the upper and lower manifolds for the following conditions:
^ Cracks in the manifold
^ Broken flanges
^ Gasket surface damage





5. Install the lower intake manifold gasket.





6. Install the lower intake manifold.





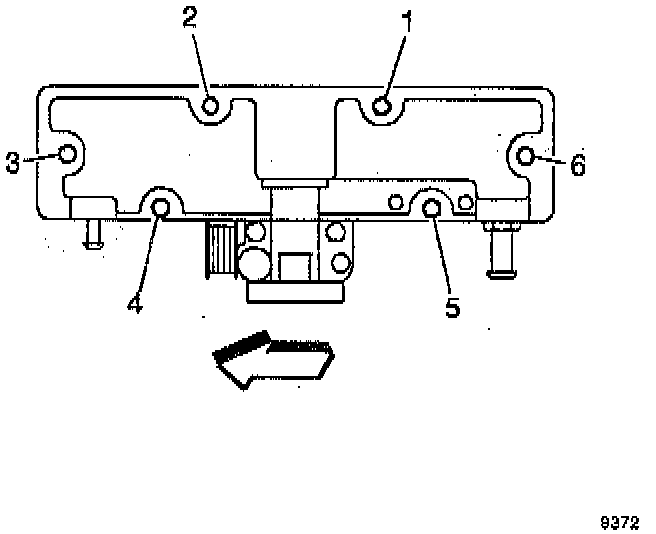
7. Install the lower intake manifold nuts. Tighten the lower intake manifold nuts to 33 Nm (24 ft. lbs.) in sequence.





8. Connect the fuel pressure connection fitting.





9. Install the fuel injectors.





10. Connect the fuel pressure regulator to the lower intake manifold.





11. Install the fuel injector retainer bracket.





12. Install the upper intake manifold gasket.





13. Install the EGR injector.





14. Install the upper intake manifold.





15. Install the upper intake manifold bolts. Tighten the upper intake manifold bolts to 30 Nm (22 ft. lbs.).





16. Connect the vacuum harness to the upper intake manifold.





17. Install the manifold absolute pressure sensor.





18. Install the throttle cable support bracket.