Operation CHARM: Car repair manuals for everyone.
Manuals through 2025 now available!

Our trusted friends have launched a new website named LEMON, which has newer manuals. It also contains all the CHARM manuals.

LEMON is the spiritual successor to CHARM, I recommend you try it!

Link: lemon-manuals.la or lemon-manuals.org.ua

(Some people have issue connecting. LEMON is investigating. For now, use Firefox or change your DNS server)

Or, hide this message: temporarily or permanently

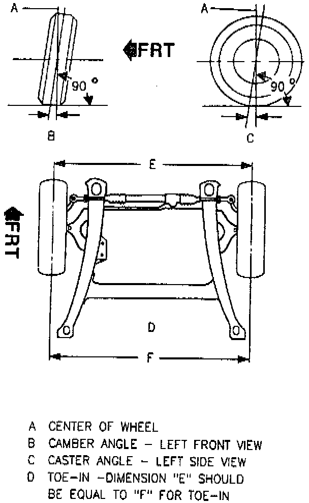
Toe-In







Toe is a measurement of how much the front of the wheels are turned in or out from a straight-ahead position. When the wheels are turned in, toe is "positive" (+). When the wheels are turned out, toe is "negative" (-). The actual amount of toe is normally only a fraction of a degree. The purpose of toe is to ensure that the wheels roll parallel.

Toe also serves to offset the small deflections of the wheel support system which occurs when the vehicle is rolling forward. In other words, even when the wheels are set to toe in or out slightly when the vehicle is standing still, they tend to roll parallel on the road when the vehicle is moving. Toe affects tire wear.