Operation CHARM: Car repair manuals for everyone.
Manuals through 2025 now available!

Our trusted friends have launched a new website named LEMON, which has newer manuals. It also contains all the CHARM manuals.

LEMON is the spiritual successor to CHARM, I recommend you try it!

Link: lemon-manuals.la or lemon-manuals.org.ua

(Some people have issue connecting. LEMON is investigating. For now, use Firefox or change your DNS server)

Or, hide this message: temporarily or permanently

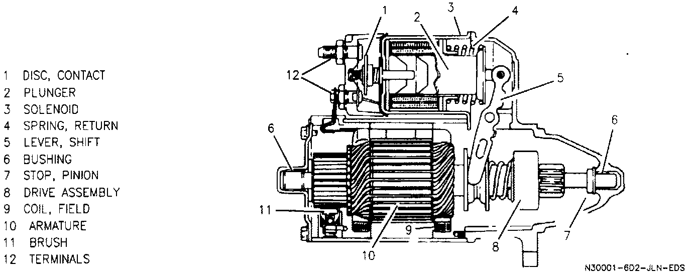
Starter Motor: Description and Operation

Starter Motor (Typical):




Standard starter motors consist of the drive mechanism, frame, field windings, armature and brushes. The armature is supported on bushings or hearings, depending on applications, to permit it to rotate freely. All the current that passes through the field coils also travels through the armature. As current enters the motor, it passes through the field windings, creating a magnetic field around the armature, then into the brushes which ride on the commutator. Finally, the current passes through the armature windings, thus creating a second magnetic field within the armature. The two strong magnetic fields oppose each other in such a way that the armature is forced to rotate.

During starter operation, the solenoid windings are energized when the ignition switch is turned to the "START" position. The resulting plunger and shift lever movement causes the pinion to engage the engine flywheel ring gear and the solenoid main contacts to close, and cranking takes place.

When the engine starts, pinion overrun protects the armature from excessive speed until the switch is opened, at which time the return spring causes the pinion to disengage. To prevent excessive overrun, the switch should he opened immediately when the engine starts.

The starter motor field coils are permanently mounted in the frame.