Operation CHARM: Car repair manuals for everyone.
Manuals through 2025 now available!

Our trusted friends have launched a new website named LEMON, which has newer manuals. It also contains all the CHARM manuals.

LEMON is the spiritual successor to CHARM, I recommend you try it!

Link: lemon-manuals.la or lemon-manuals.org.ua

(Some people have issue connecting. LEMON is investigating. For now, use Firefox or change your DNS server)

Or, hide this message: temporarily or permanently

Vehicle Lifting: Service and Repair

GENERAL VEHICLE LIFTING AND JACKING





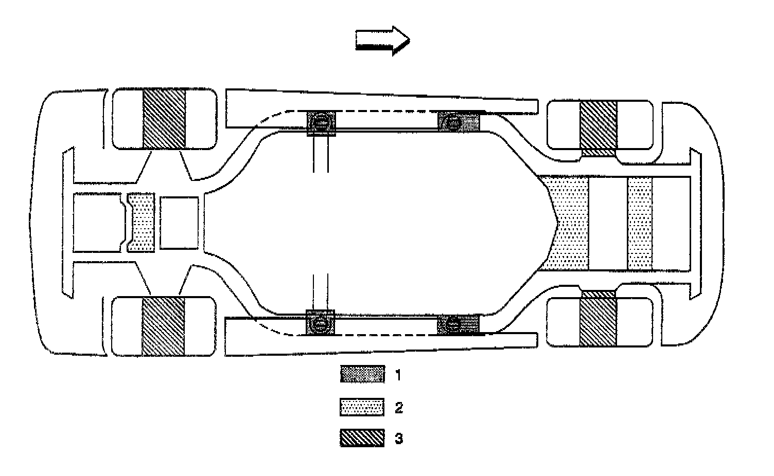
LEGEND
(1) Frame Contact Hoist Locations
(2) Floor Jack Locations
(3) Suspension Contact Hoist Locations

Caution: To help avoid personal injury, always use jack stands when you are working on or under any vehicle that is supported only by a jack.

Caution: To help avoid personal injury, when a vehicle is on a hoist, provide additional support for the vehicle at the opposite end from which you are removing components. The additional support will reduce the possibility of the vehicle falling off the hoist. When you are removing major components from the vehicle while the vehicle is on a hoist, chain the vehicle frame to the hoist pads at the same end from which you are removing the major components to prevent tip-off. If you fail to follow these precautionary measures, vehicle damage, serious personal injury, or death may result.

Notice: When you are jacking or lifting a vehicle at the frame side rails or other prescribed lift points, be certain that the lift pads do not contact the catalytic converter, the brake pipes or the fuel lines. If such contact occurs, vehicle damage or unsatisfactory vehicle performance may result.
Before you begin any lifting procedure, be sure the vehicle is on a clean, hard, level surface. Be sure all the lifting equipment meets weight standards and is in good working order. Be sure all the vehicle loads are equally distributed and secure. If you are only supporting the vehicle at the frame side rails, make sure the lifting equipment does not put too much stress on or weaken the frame side rails.
If you use any other hoisting methods than those called out, take special care not to damage the fuel tanks, the exhaust system or the underbody.