Operation CHARM: Car repair manuals for everyone.
Manuals through 2025 now available!

Our trusted friends have launched a new website named LEMON, which has newer manuals. It also contains all the CHARM manuals.

LEMON is the spiritual successor to CHARM, I recommend you try it!

Link: lemon-manuals.la or lemon-manuals.org.ua

(Some people have issue connecting. LEMON is investigating. For now, use Firefox or change your DNS server)

Or, hide this message: temporarily or permanently

Exhaust Gas Recirculation: Description and Operation



Linear EGR Valve:






Purpose
The Exhaust Gas Recirculation (EGR) system is used to lower Oxides of Nitrogen (NOx) emission levels caused by high combustion temperature. It does this by decreasing combustion temperature. The main element of the system is the linear EGR valve. The EGR valve feeds small amounts of exhaust gas back into the combustion chamber. With the fuel/air mixture diluted by the exhaust gases, combustion temperatures are reduced.








Legend
(1) Cap-Sensor
(2) Sensor-EGR Pintle Position
(3) Pole Piece-Primary
(4) Bobbin and Coil Assembly
(5) Sleeve-Armature
(6) Valve-Pintle
(7) Armature and Base Assembly


The linear EGR valve is designed to accurately supply EGR to an engine independent of intake manifold vacuum. The valve controls EGR flow from the exhaust to the intake manifold through an orifice with a PCM controlled pintle. During operation, the PCM controls pintle position by monitoring the pintle position feedback signal. The feedback signal can be monitored with a scan tool as ACTUAL EGR P0S. ACTUAL EGR P0S should always be near the commanded EGR position (DESIRED EGR P0S). The PCM uses information from the following sensors to control the pintle position:
^ Engine Coolant Temperature (ECT) sensor.
^ Throttle Position (TP) sensor.
^ Mass Air Flow (MAF).

The linear EGR valve is usually activated under the following conditions:
^ Warm engine operation.
^ Above idle speed.






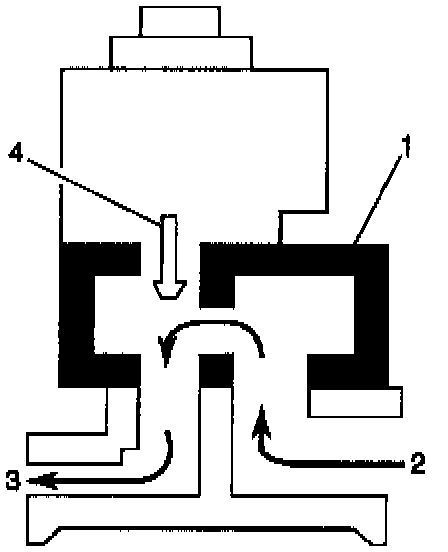
Legend
(1) Linear EGR Valve
(2) Exhaust Gas
(3) To Cylinders
(4) Pintle


Too much EGR flow at idle, cruise, or cold operation may cause any of the following conditions to occur:
^ Engine stalls after cold start.
^ Engine stalls during closed throttle conditions.
^ Vehicle surges during cruise.
^ Rough idle.
^ DTC P03OO (misfire detected).

Too little or no EGR flow may allow combustion temperatures to get too high. This could cause the following symptoms:
^ Spark knock (detonation).
^ Engine overheating.
^ Emission test failure.
^ DTC P0401.
^ Poor fuel economy.

EGR flow diagnosis is included in the DTC P0401 diagnostic table. Pintle position error diagnosis is covered in DTC P1406. If EGR diagnostic trouble codes P0401 and/or P14O6 are encountered, go to the DTC tables for diagnosis. Testing and Inspection