Operation CHARM: Car repair manuals for everyone.
Manuals through 2025 now available!

Our trusted friends have launched a new website named LEMON, which has newer manuals. It also contains all the CHARM manuals.

LEMON is the spiritual successor to CHARM, I recommend you try it!

Link: lemon-manuals.la or lemon-manuals.org.ua

(Some people have issue connecting. LEMON is investigating. For now, use Firefox or change your DNS server)

Or, hide this message: temporarily or permanently

Unit Repair Manual

^ Tools Required:
- J 8001 Dial Indicator Set
- J 25025-1 Dial Indicator Stand
- J 2695B Output Shaft Loading and Aligning tool
- J 26958-10 Adapter Plug J28585 Snap Ring Remover
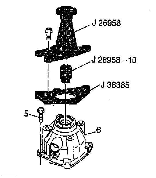
- J 38385 Output Shaft Loading Tool Adapter
- Or Equivalents





1. Make sure that the thrust washer (714) and the bearing (715) are still on the front differential carrier.
2. Install the case extension seal (8) onto the case extension (6).
3. Install the case extension assembly (6) onto the transmission (3).
4. Install only two of the four case extension bolts (5).

Tighten
Do not torque the bolts. Tighten them only until the case extension is fully seated.





5. Position the transmission so that the case extension is facing upward.
6. Install J 25025-B, J26958-10, and J 8001.
7. Set the dial indicator to zero.
8. Use J 28585 or a large screwdriver in order to lift the front differential carrier. Pry up on the vehicle speed sensor reluctor wheel through the cant hale in the case extension.





9. Note the dial indicator reading before changing the carrier thrust washer (714):
^ If the dial indicator reading is less than 0.12 mm (0.005 in), install the next smaller size thrust washer, then recheck.
^ If the dial indicator reading is greater than 0.62 mm (0.025 in), install the next larger size thrust washer, then recheck.
^ If the dial indicator reading is less than 0.12-0.62 mm (0.005-0.025 in), the thrust washer is correct.





10. Remove J8001 and J25025-1.
11. Install J 26958, J 26958-10, and J 38385 onto the case extension (6).