Operation CHARM: Car repair manuals for everyone.
Manuals through 2025 now available!

Our trusted friends have launched a new website named LEMON, which has newer manuals. It also contains all the CHARM manuals.

LEMON is the spiritual successor to CHARM, I recommend you try it!

Link: lemon-manuals.la or lemon-manuals.org.ua

(Some people have issue connecting. LEMON is investigating. For now, use Firefox or change your DNS server)

Or, hide this message: temporarily or permanently

Fuel Level Sensor: Service and Repair




Fuel Level Sensor Replacement

Removal Procedure

Caution:
Refer to Relieving Fuel Pressure Caution Service Precautions in Cautions and Notices.

1. Remove the Fuel Sender Assembly. Refer to Fuel Sender Assembly Replacement Service and Repair.





2. Disconnect the insulator connector.





3. Push the terminal wedge (1) in the insulator connector.





4. Push the wedge (1) outside and then pull the wires to disconnect from the insulator.





5. Remove the fuel level sensor (1) from the sender housing (2).

6. Remove the sender housing (2).





7. Remove the fuel level sensor (1).

Installation Procedure





1. Wind the wires (1) to the fuel level sensor (2).





Important:
Failure to install the fuel level sensor correctly will result in inaccurate fuel gauge reading.


2. Install the fuel level sensor onto the fuel sender assembly (1).

Important:
Failure to install the fuel level sensor correctly will result in inaccurate fuel level warning lamp operation.






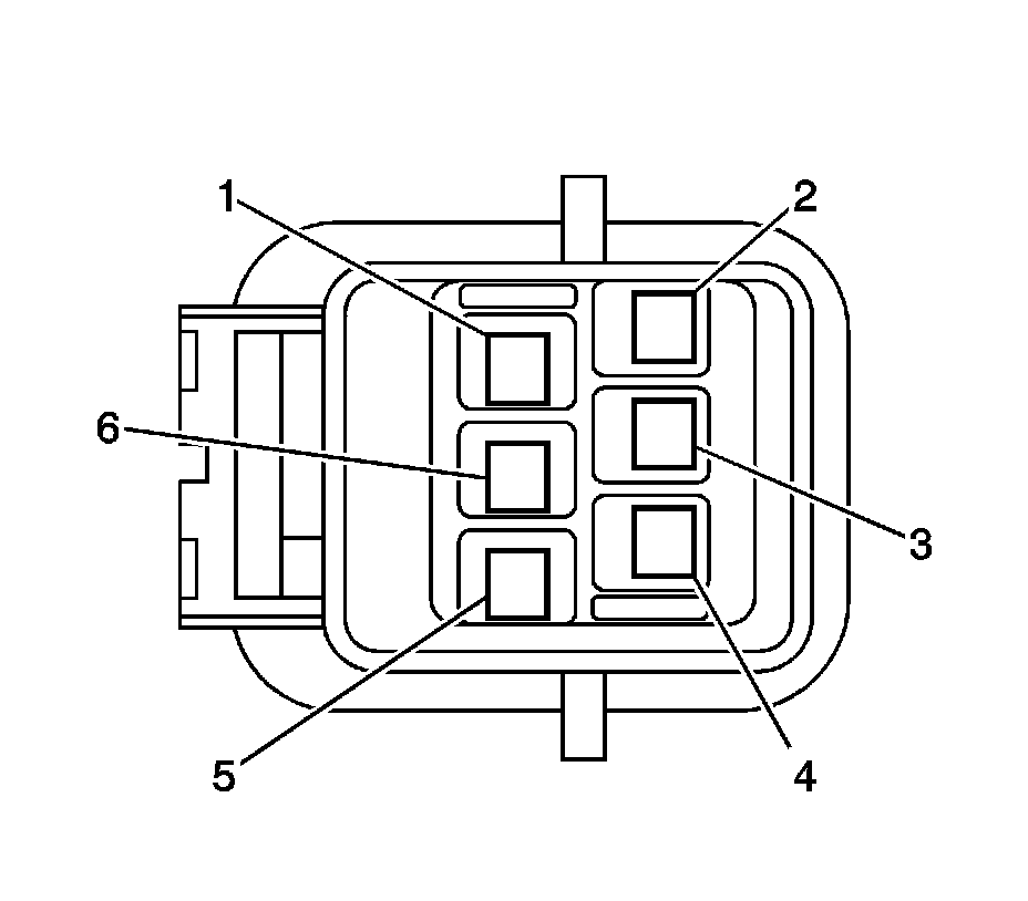
3. Connect the wires into the insulator connector as follows:

* Connect wire (1), Red

* Connect wire (2), Blue

* Connect wire (3), Gray

* Connect wire (4), Yellow

* Connect wire (5), Blue

* Connect wire (6), Black





4. Connect the insulator connector.

5. Install the fuel sender assembly. Refer to Fuel Sender Assembly Replacement Service and Repair.