Operation CHARM: Car repair manuals for everyone.
Manuals through 2025 now available!

Our trusted friends have launched a new website named LEMON, which has newer manuals. It also contains all the CHARM manuals.

LEMON is the spiritual successor to CHARM, I recommend you try it!

Link: lemon-manuals.la or lemon-manuals.org.ua

(Some people have issue connecting. LEMON is investigating. For now, use Firefox or change your DNS server)

Or, hide this message: temporarily or permanently

Overhaul




Starter Overhaul (2.5L)

Disassembly Procedure





Notice:
Never operate the starter motor more than 15 seconds at a time without pausing in order to allow it to cool for at least 2 minutes. Overheating will damage the starter motor.

1. Remove the starter. Refer to Starter Replacement (2.5L) Removal and Replacement.

2. Remove the starter through-bolts.





3. Remove the commutator end frame and brush holder assembly.

4. Inspect the brushes, the pop-out springs, and the brush holders for wear and damage. Replace the assembly, if needed.

5. Check the armature to see if it turns freely. If the armature does not turn freely, break down the assembly immediately, starting with Step 14. Otherwise, give the armature a no-load test.





Notice:
Complete the testing as quickly as possible in order to prevent overheating and damaging the solenoid.

Important:
If the specified current draw does not include the solenoid, deduct from the armature reading (1) the specified current draw of the solenoid hold-in winding.


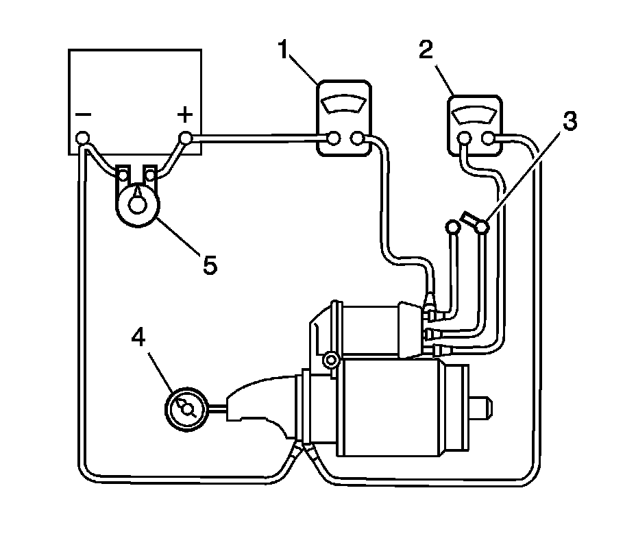
6. To begin the no-load test, close the switch (3) and compare the RPM (4), the current, and the voltage readings (2) with the specifications. Refer to Starter Usage (Gasoline Engines) [1][2]Specifications. Make disconnections only with the switch open. Use the test results as follows:

1. Rated current draw and no-load speed indicate a normal condition for the starter motor.

2. Low RPM combined with high current draw is an indication of excessive friction caused by tight, dirty, or worn bearings; a bent armature shaft; a shorted armature; or shorted field coils.

3. Failure to operate with high current draw indicates a direct ground in the terminal or fields, or frozen bearings.

4. Failure to operate with no current draw indicates an open field circuit, open armature coils, broken brush springs, worn brushes, high insulation between the commutator bars, or other causes which would prevent good contact between the brushes and the commutator.

5. Low, no-load speed and low current indicate high internal resistance and high current draw, which usually mean shorted fields.





7. Remove the solenoid assembly screws.





8. Remove the connector nut. Disconnect the field connector.





9. Remove the plunger return spring.





Important:
If the solenoid is not removed from the starting motor, the connector strap terminals must be removed from the terminal on the solenoid before making these tests.


10. Test the solenoid windings by checking the current draw.

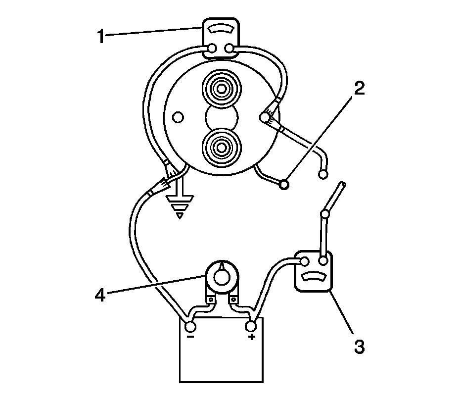
1. Check the hold-in windings by connecting an ammeter (3) in series with a 12-volt battery, the switch terminal (2), and the ground.

2. Connect the carbon pile (4) across the battery.

3. Adjust the voltage to 10 volts. The ammeter reading should be 13-19 amperes. Current will decrease as the windings heat up. Current draw readings that are over specifications indicate shorted turns or a ground in the windings of the solenoid. Both conditions require replacement of the solenoid. Current draw readings that are under specifications indicate excessive resistance. No reading indicates an open circuit.





Important:
Current will decrease as the windings heat up. Current draw readings that are over specifications indicate shorted turns or a ground in the windings of the solenoid. Current draw readings that are under specifications indicate excessive resistance. No reading indicates an open circuit.


11. Check both windings, connecting them according to the preceding test.

1. Ground the solenoid motor terminal.

2. Adjust the voltage to 10 volts. The ammeter reading should be 59-79 amperes.

3. Check the connections and replace the solenoid, if necessary.

12. Slide the field frame with enclosed armature assembly away from the starter assembly.

13. Remove the shield.





14. Separate the field frame from the armature.





15. Inspect the shaft and the pinion for discoloration, damage, or wear. Replace if necessary.

16. Inspect the armature commutator. If the commutator is rough, it should be turned down. The outside diameter of the commutator must measure at least 26.9-27.1 mm (1.059-1.067 in) after it is undercut or turned. Do not turn out-of-round commutators.

17. Inspect the joints where the armature conductors join the commutator bars. Make sure they have a good connection. A burned commutator bar is usually evidence of a poor connection.

18. If the test equipment is available, check the armature for short circuits by placing it on a growler, and holding back a saw blade over the armature core while the armature is rotated. If the saw blade vibrates, replace the armature.

19. Recheck the armature after cleaning between the commutator bars. If the saw blade vibrates, replace the armature.





20. Remove the locking ring from the groove in the driveshaft.





21. Remove the pinion stop and the drive from the driveshaft.





22. If not done in the previous steps, remove the screws that hold the solenoid assembly into the housing, and remove the nut from the field coil connector.





23. Rotate the solenoid 90 degrees and remove it along with the return spring.





24. Remove the plunger with the boot and the shift lever assembly. Test the solenoid windings, if not done in Step 11.





Important:
The pinion clearance must be correct to prevent the buttons on the shift lever yoke from rubbing on the clutch collar during the cranking.


25. When the starter motor is disassembled and the solenoid is replace, it is necessary to check the pinion clearance.





26. Disconnect the motor field coil connector from the solenoid motor terminal and carefully insulate the connector.

27. Connect one 12-volt battery lead to the solenoid switch terminal and the other to the starter frame.

28. Flash a jumper lead momentarily from the solenoid motor terminal to the starter frame, allowing shifting of the pinion in the cranking position, where it will remain until the battery is disconnected.

Important:
A means for adjusting the pinion clearance is not provided on the starter motor. If the clearance does not fall within the limits, check for improper installation and replace all worn parts.


29. Push the pinion back as far as possible to take up any movement, and check the clearance with a feeler gauge. The clearance should be 0.25-3.56 mm (0.01-0.14 in).

Assembly Procedure





Caution:
Refer to Safety Glasses Caution Safety Glasses Caution in Cautions and Notices.

1. Install the drive and the pinion stop on the driveshaft.





2. Install the lock ring to the groove on the driveshaft and insert the collar.





3. Install the shift lever, washer and the cushion.





4. Lubricate the drive end of the armature shaft with lubricant.





5. Position the solenoid assembly.





Notice:
Refer to Fastener Notice Fastener Notice in Cautions and Notices.

6. Fasten the solenoid assembly with the screws.

Tighten the starter solenoid assembly screws to 8 Nm (71 lb in).

7. Install the field coil connection to the starter terminal. Install the nut.

Tighten the starter field coil connector nut to 8 Nm (71 lb in).





8. Position the armature assembly into the field frame.

9. Place the shield on the armature and field frame assembly.

10. Install the armature and field frame assembly with the shield into the starter housing.





11. Position the commutator end frame/brush holder assembly, lining up the end frame holes with the through-bolt holes in the housing.





12. Install the starter through-bolts.

13. Install the starter. Refer to Starter Replacement (2.5L) Removal and Replacement.

Tighten the starter through-bolts to 6 Nm (53 lb in).