Operation CHARM: Car repair manuals for everyone.
Manuals through 2025 now available!

Our trusted friends have launched a new website named LEMON, which has newer manuals. It also contains all the CHARM manuals.

LEMON is the spiritual successor to CHARM, I recommend you try it!

Link: lemon-manuals.la or lemon-manuals.org.ua

(Some people have issue connecting. LEMON is investigating. For now, use Firefox or change your DNS server)

Or, hide this message: temporarily or permanently

Connector Views



SIR Connector End Views

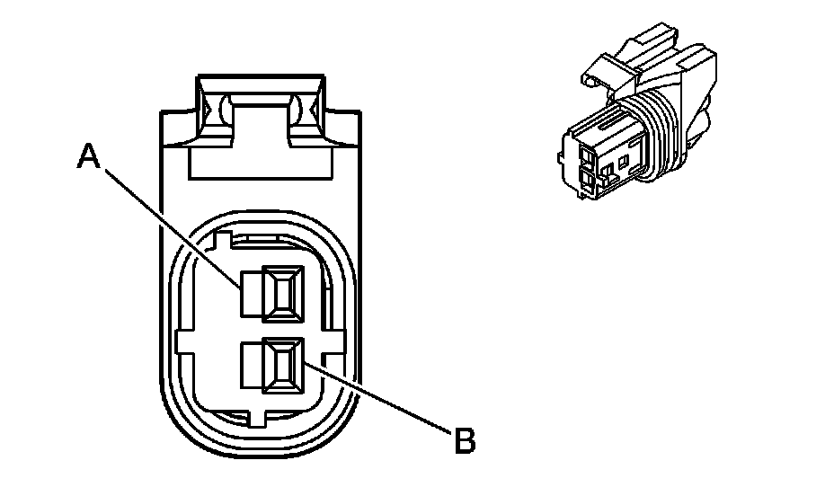
Inflatable Restraint Front End Sensor














Inflatable Restraint Front Passenger Presence System (PPS) Module














Inflatable Restraint Front Passenger Presence System (PPS) Sensor














Inflatable Restraint I/P Module C1














Inflatable Restraint I/P Module C2














Inflatable Restraint Passenger Air Bag On/Off Indicator














Inflatable Restraint Passenger Seat Belt Tension Sensor














Inflatable Restraint Roof Rail Module - Left (ASF)














Inflatable Restraint Roof Rail Module - Right (ASF)














Inflatable Restraint Sensing and Diagnostic Module (SDM) (w/ASF)














Inflatable Restraint Sensing and Diagnostic Module (SDM) (w/o ASF)














Inflatable Restraint Side Impact Sensor - Left (ASF)














Inflatable Restraint Side Impact Sensor - Right (ASF)














Inflatable Restraint Steering Wheel Module C1














Inflatable Restraint Steering Wheel Module C2














Inflatable Restraint Steering Wheel Module Coil C1














Inflatable Restraint Steering Wheel Module Coil C2














Inflatable Restraint Steering Wheel Module Coil C3














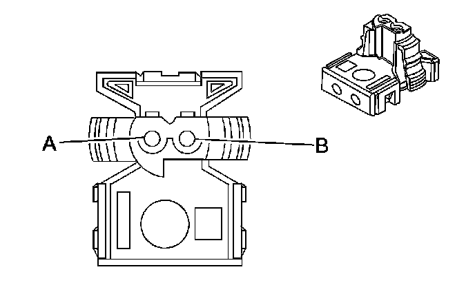
Seat Belt Retractor Pretensioner - Driver














Seat Belt Retractor Pretensioner - Passenger