Operation CHARM: Car repair manuals for everyone.
Manuals through 2025 now available!

Our trusted friends have launched a new website named LEMON, which has newer manuals. It also contains all the CHARM manuals.

LEMON is the spiritual successor to CHARM, I recommend you try it!

Link: lemon-manuals.la or lemon-manuals.org.ua

(Some people have issue connecting. LEMON is investigating. For now, use Firefox or change your DNS server)

Or, hide this message: temporarily or permanently

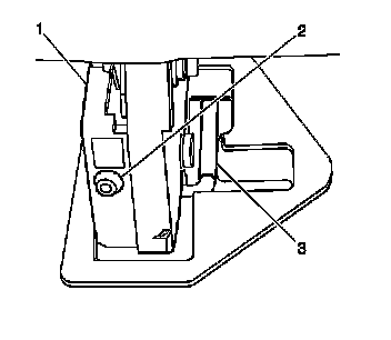
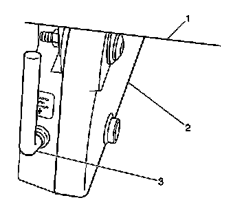
Rear Bench Seat Replacement



Rear Bench Seat Replacement

Removal Procedure




1. Rotate the locking pin (3) at the rear of the seat riser out of the retainer.
2. Pull the locking pin (3) out from the rear of the seat riser.




3. Stow the locking pin in the hole provided at the rear of the seat riser (2).




4. Lift the seat up and out of the floor rails.




5. Remove the seat from the vehicle.

Installation Procedure




1. Position the seat into the vehicle.




2. Align the seat attaching points with the slots in the floor rail.
3. Push the seat forward in the rail to lock the front of the seat risers onto the slots on the inside of the floor rail.




4. Remove the locking pin (3) from the stored position at the rear of the seat riser (2).




5. Locate the hole in the floor rail at the rear of the seat riser (2) and insert the locking pin.
6. Rotate the locking pin (3) forward into the retaining clip.