Operation CHARM: Car repair manuals for everyone.
Manuals through 2025 now available!

Our trusted friends have launched a new website named LEMON, which has newer manuals. It also contains all the CHARM manuals.

LEMON is the spiritual successor to CHARM, I recommend you try it!

Link: lemon-manuals.la or lemon-manuals.org.ua

(Some people have issue connecting. LEMON is investigating. For now, use Firefox or change your DNS server)

Or, hide this message: temporarily or permanently

Heating and Air Conditioning: Locations



HVAC Component Views

Left Side of the Engine (4.3L)





1 - S101
2 - A/C Compressor Clutch Connector (C60)
3 - Throttle Position (TP) Sensor Connector
4 - Idle Air Control (IAC) Valve Connector
5 - A/C High Pressure Switch Connector (C60)

Right Side of the Engine (4.8L/5.3L/6.0L)





1 - Crankshaft Position (CKP) Sensor Connector
2 - A/C High Pressure Switch Connector (C60)
3 - A/C Compressor Clutch Connector (C60)
4 - Engine Oil Level Switch Connector
5 - Starter Motor

Upper Front of the Engine (6.6L)





1 - Generator - Auxiliary (KD9/YF2)
2 - A/C Compressor Clutch Connector (C60)
3 - Generator
4 - A/C High Pressure Switch (C60)

RF of the Engine Compartment (6.6L)





1 - Fender - Front Right
2 - Battery
3 - Vacuum Pump

Rear of the Engine Compartment





1 - Blower Motor Resistor Assembly
2 - Blower Motor
3 - Mass Air Flow (MAF)/Intake Air Temperature (IAT) Sensor
4 - A/C Low Pressure Switch (C60)

Left Side Frame (6.6L)





1 - Fuel Level Sensor Connector
2 - Battery - Secondary
3 - G305
4 - Coolant Heater - Fuel Pump (K08)
5 - Coolant Heater (K08)
6 - Fuel Pump Assembly

Coolant Heater (K08)





1 - Coolant Heater Control
2 - Glow Plug
3 - Air Temperature Sensor (Coolant Sensor)
4 - Combustion Sensor
5 - Air Temperature Sensor (Overheat Sensor)
6 - Fuel Pump
7 - Blower Motor
8 - C106

Instrument Panel





1 - Turn Signal/Multifunction Switch
2 - Instrument Panel Cluster (IPC)
3 - HVAC Control Assembly
4 - Radio
5 - Auxiliary Power Outlet 2
6 - Traction Control Switch (JL4)
7 - Inflatable Restraint PASSENGER AIR BAG ON/OFF Indicator (Light Duty w/o YF7)
8 - High Idle Switch (UF3)
9 - Inflatable Restraint I/P Disable Switch (Heavy Duty)
10 - Cigar Lighter (DT4)/Auxiliary Power Outlet 1 (w/o DT4)
11 - Blower Motor Switch - Auxiliary (C36)
12 - Tow/Haul Switch
13 - Headlamp and Panel Dimmer Switch

Right Side of the I/P





1 - Recirculation Actuator
2 - Air Temperature Actuator

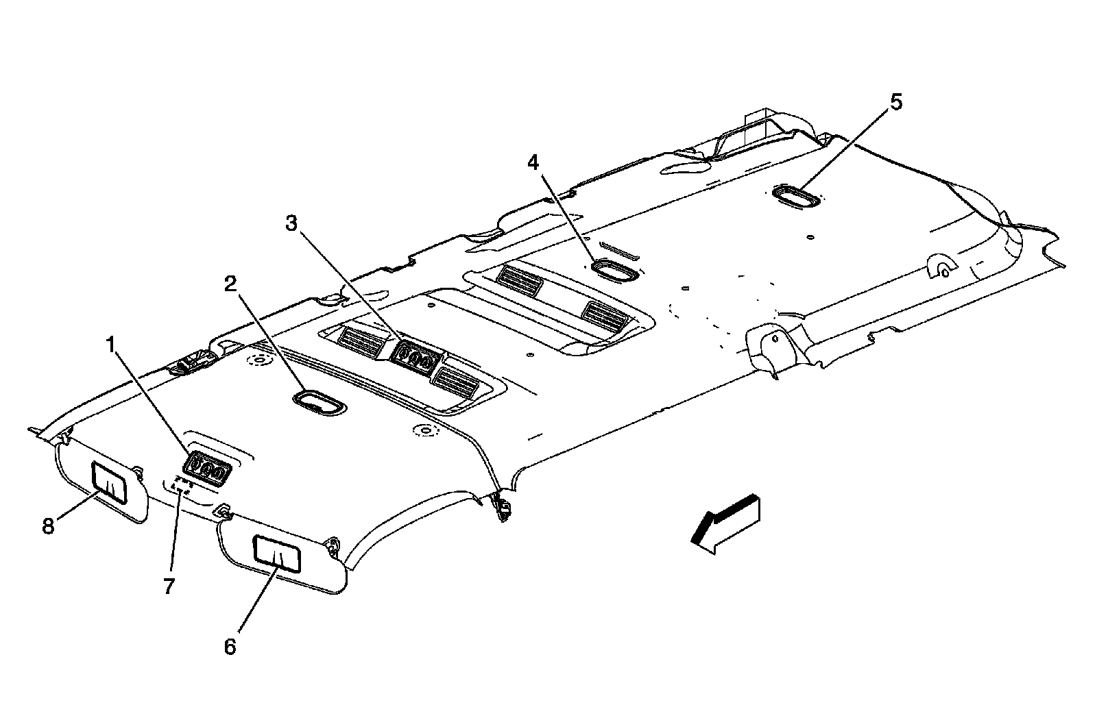
Headliner





1 - HVAC Control Assembly - Front Auxiliary (C69)
2 - Courtesy /Reading Lamp - Front
3 - HVAC Control Assembly - Rear Auxiliary (C69 w/Rear Auxiliary Controls)
4 - Courtesy /Reading Lamp - Mid (Passenger)
5 - Courtesy /Reading Lamp - Rear (Passenger)/Dome Lamp - Rear (Cargo)
6 - Vanity Mirror - Right (DH6)
7 - HVAC Control Processor - Auxiliary (C69 w/Rear Auxiliary Controls)
8 - Vanity Mirror - Left (DH6)

Auxiliary Heater and A/C Harness Routing -
Front (C36/C69)






1 - Blower Motor Resistor Assembly Connector - Auxiliary
2 - C409
3 - C407
4 - Blower Motor Connector - Auxiliary
5 - Air Temperature Actuator Connector - Auxiliary (C69)
6 - S413

Auxiliary Heater and A/C Harness Routing -
Rear (C36/C69)






1 - Blower Motor Connector - Auxiliary
2 - Medium Speed Blower Motor Relay - Auxiliary
3 - C407
4 - C409
5 - Low Speed Blower Motor Relay Connector - Auxiliary
6 - S412
7 - S405
8 - S411 (C69)
9 - High Speed Blower Motor Relay Connector - Auxiliary
10 - Mode Actuator Connector - Auxiliary (C69)