Operation CHARM: Car repair manuals for everyone.
Manuals through 2025 now available!

Our trusted friends have launched a new website named LEMON, which has newer manuals. It also contains all the CHARM manuals.

LEMON is the spiritual successor to CHARM, I recommend you try it!

Link: lemon-manuals.la or lemon-manuals.org.ua

(Some people have issue connecting. LEMON is investigating. For now, use Firefox or change your DNS server)

Or, hide this message: temporarily or permanently

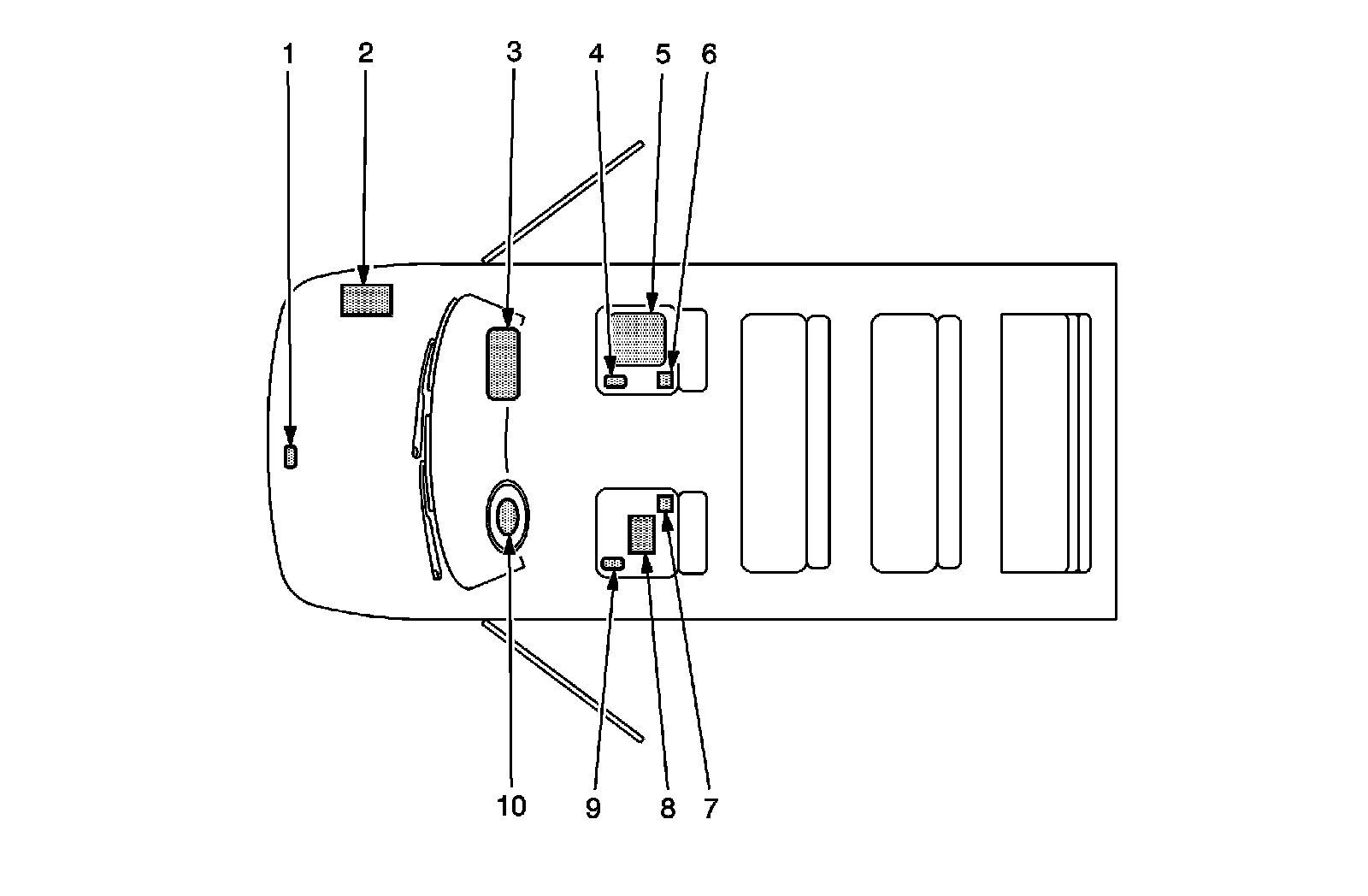
SIR Identification Views



SIR Identification Views

The SIR Identification Views shown below illustrate the approximate location of all SIR components available for the vehicle. This will assist in determining the appropriate SIR Disabling and Enabling for a given service procedure, refer to SIR Disabling and Enabling.




1 _ Inflatable Restraint Front End Sensor-Located on the front frame crossmember at center
2 - Battery-Located under the hood on the right side
3 - Inflatable Restraint I/P Module-Located at the right front of the instrument panel cluster
4 - Inflatable Restraint Seat Position Sensor (SPS) - Right-Located on the right front inboard seat track
5 - Passenger Presence System (PPS)-Located in passenger seat
6 - Seat Belt Buckle Pretensioner-Located in RF seat belt buckle
7 - Seat Belt Buckle Pretensioner-Located in LF seat belt buckle
8 - Inflatable Restraint Sensing and Diagnostic Module (SDM)-Located under the left front seat under the carpet
9 - Inflatable Restraint Seat Position Sensor (SPS) - Left-Located on the left front outboard seat track
10 - Inflatable Restraint Steering Wheel Module-Located on the steering wheel