Operation CHARM: Car repair manuals for everyone.
Manuals through 2025 now available!

Our trusted friends have launched a new website named LEMON, which has newer manuals. It also contains all the CHARM manuals.

LEMON is the spiritual successor to CHARM, I recommend you try it!

Link: lemon-manuals.la or lemon-manuals.org.ua

(Some people have issue connecting. LEMON is investigating. For now, use Firefox or change your DNS server)

Or, hide this message: temporarily or permanently

Adhesive Installation of Bodyside Stationary Windows



ADHESIVE INSTALLATION OF BODYSIDE STATIONARY WINDOWS

1. CAUTION: Refer to Glass and Sheet Metal Handling Caution.

IMPORTANT: Remove all but approximately 2 mm (0.078 in) of the existing bead of urethane adhesive from the pinchweld flange.

Remove all mounds or loose pieces of urethane adhesive from the pinchweld area.
2. If the original window is being reused, remove all but a thin film of the existing urethane adhesive from the window surface by using a clean utility knife or razor blade scraper.
3. Inspect the pinchweld flange area for the cause of a broken window.
4. Inspect for any of the following problems in order to help prevent future breakage of the window:
- High weld
- Solder spots
- Hardened sealer
- Any other obstruction or irregularity in the pinchweld flange

5. IMPORTANT: If corrosion of the pinchweld flange is present or if sheet metal repairs or replacements are required, the pinchweld flange must be refinished in order to restore the bonding area strength. If paint repairs are required, mask the flange bonding area prior to applying the color coat in order to provide a clean primer only surface. Materials such as BASF DE17(R), DuPont 2610(R), Sherwin-Williams PSE 4600 and NP70(R) and Martin-Semour 5120 and 5130(R) PPG DP90LF SPIES/ HECKER 3688/8590 - 3688/5150 - 4070/5090 STANDOX 11158/13320 - 14653/14980 products are approved for this application.

After repairing the opening as indicated, perform the following steps:
1. Remove all traces of broken glass from the seats, floor and/or defroster ducts, if applicable.
2. Clean around the edge of the inside surface of the window with a 50/50 mixture of isopropyl alcohol and water by volume on a dampened lint free cloth.
3. Allow the isopropyl alcohol to dry completely before applying the primers.

6. CAUTION: Refer to Window Retention Caution.

Verify all primers and urethane adhesive are within expiration dates.






7. CAUTION: Refer to Failure to Prep Primer Caution.

IMPORTANT: Do not apply the (black #3) primer to the existing bead (1) of the urethane adhesive on the pinchweld flange. Apply the primer only to nicks, scratches or the primed surfaces.

Shake the pinchweld primer (black #3) for at least 1 minute.
8. Use a new dauber in order to apply the primer to the surface of the pinchweld flange (1).
9. Allow the pinchweld primer to dry for approximately 10 minutes.
10. With the aid of an assistant dry fit the window (3, 5) to the opening in order to determine the correct position.
11. Ensure the locators (2, 4) are positioned into the locator slots on the lower pinchweld flange.
12. Center the glass side to side into the body opening.




13. Use masking tape (2) in order to mark the locations of the bodyside window in the opening.
14. Cut the masking in the center and remove the bodyside window (3) from the opening.

15. IMPORTANT: Use care when applying glass prep (clear #1) on the window. This primer dries almost instantly, and may stain the viewing area of the window if not applied evenly.




Use a new dauber in order to apply glass prep (clear #1) to the area approximately 10-16 mm (3/8-5/8 in) around the entire perimeter of the window inner surface. Immediately wipe the glass primed area using a clean, lint-free cloth.

16. IMPORTANT: The glass primer (black #2) is effective up to 8 hours after applying it to the glass. The primed surface of the glass must be kept clean.




Shake the glass primer (black #2) for at least 1 minute.

17. Use a new dauber in order to apply the glass primer (black #2) to the same areas (2) that glass prep (clear #1) was applied.
18. Allow the glass primer to dry for approximately 10 minutes.

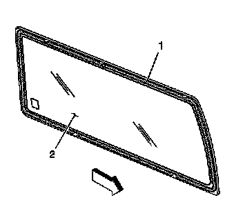
19. IMPORTANT: Measure a distance of 14-17 mm (0.551- 0.669 in) inward, from the top, bottom and side edges of the window (1) in order to apply the urethane bead onto the window.




When applying around the radius edges of the window (2), measure a distance of 17-22 mm (0.669-0.866 in) inward, for the radius edges only.Use the measurements as a guide in order to apply the urethane adhesive bead to the blackout area of the window.




20. Cut the applicator nozzle in order to provide a bead of 10 mm (0.393 in) wide and 15 mm (0.590 in) high.

21. IMPORTANT: The urethane adhesive bead must maintain a consistent height and width uniformity.

Use a cartridge-type caulking gun in order to apply a smooth, continuous bead of urethane adhesive.




22. Use the specifications as listed above to guide for the nozzle in order to apply the urethane adhesive (1) to the inner surface of the window.

23. IMPORTANT: The bodyside glass must be installed to the bodyside opening within 5 minutes after the urethane adhesive is dispensed.




Position the window into the bodyside opening.

24. Place the bodyside glass locators (2) onto the slots in the pinchweld flange.




25. Align the masking tape on the bodyside window to the body (2) masking tape.




26. Press around the entire periphery of the bodyside glass edge in order to wet-out the urethane adhesive bead.
27. Tape the window to the body in order to minimize movement until the urethane adhesive cures.




28. Clean any excess urethane adhesive from the body by using VMP Naptha.
29. Clean any excess urethane adhesive from the interior trim by using acrysol.

30. IMPORTANT: Do not direct a hard stream of high pressure water to the freshly applied urethane adhesive.




Use a soft spray of warm water in order to immediately water test the window.
31. Inspect the window for leaks.
32. If any leaks are found, use a plastic paddle in order to apply extra urethane adhesive at the leak point.
33. Retest the window for leaks.

34. CAUTION: Insufficient curing of urethane adhesive may allow unrestrained occupants to be ejected from the vehicle resulting in personal injury.

- For the moisture-curing type of urethane adhesive, allow a minimum of 6 hours at 21°C (70°F) or greater and with at least 30 percent relative humidity. Allow at least 24 hours for the complete curing of the urethane adhesive.
- For the chemical-curing type of urethane adhesive, allow a minimum of 1 hour.

Do NOT physically disturb the repair area until after these minimum times have elapsed.

Maintain the following conditions in order to properly cure the urethane adhesive:
- Partially lower a door window in order to prevent pressure buildups when closing doors before the urethane adhesive cures.
- Do not drive the vehicle until the urethane adhesive is cured. Refer to the above curing times.
- Do not use compressed air in order to dry the urethane adhesive.