Operation CHARM: Car repair manuals for everyone.
Manuals through 2025 now available!

Our trusted friends have launched a new website named LEMON, which has newer manuals. It also contains all the CHARM manuals.

LEMON is the spiritual successor to CHARM, I recommend you try it!

Link: lemon-manuals.la or lemon-manuals.org.ua

(Some people have issue connecting. LEMON is investigating. For now, use Firefox or change your DNS server)

Or, hide this message: temporarily or permanently

Timing Cover: Service and Repair



Engine Front Cover Replacement

Tools Required

J 37228 Seal Cutter

Removal Procedure

1. Remove the thermostat bypass pipe.
2. Remove the upper oil pan.
3. Remove the idler pulley.
4. Remove the water pump.
5. Remove the crankshaft balancer.
6. Remove the engine oil fill tube bolts.
7. Remove the engine oil fill tube.




8. Remove the crankshaft position sensor bolt.
9. Remove the crankshaft position sensor.




10. Remove the engine front cover bolts.
11. Separate the engine front cover from the cylinder block using J 37228.
12. Remove the engine front cover.

Installation Procedure




1. Install the relief valve O-ring to the engine front cover.
2. Lubricate the O-ring with engine oil.




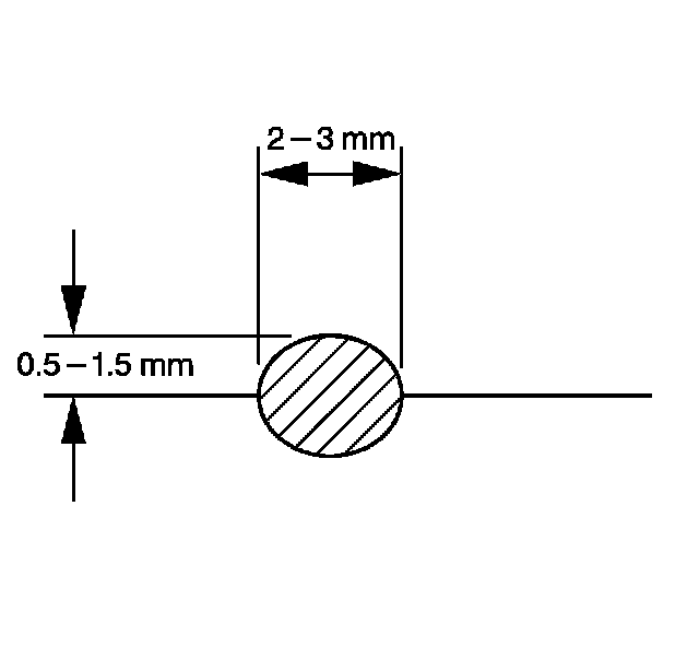
3. Apply a 2-3 mm wide and 0.5-1.5 mm high bead of sealant to the mating surfaces of the engine front cover. Refer to Sealers, Adhesives, and Lubricants for the correct part number.




4. Install the engine front cover.

Notice: Refer to Fastener Notice.

5. Install the engine front cover bolts.

Tighten the engine front cover bolts to 25 N.m (18 lb ft).




6. Install a new O-ring to the crankshaft position sensor spacer.
7. Lubricate the O-ring with engine oil.
8. Install the crankshaft position sensor spacer.
9. Install the crankshaft position sensor spacer bolts.

Tighten the crankshaft position sensor spacer bolts to 10 N.m (89 lb in).

10. Install a new O-ring to the crankshaft position sensor.
11. Lubricate the O-ring with engine oil.
12. Install the crankshaft position sensor.
13. Install the crankshaft position sensor bolt.

Tighten the crankshaft position sensor bolt to 10 N.m (89 lb in).

14. Install the engine oil fill tube.
15. Install the water pump.
16. Install the crankshaft balancer.
17. Install the idler pulley.
18. Install the upper oil pan.
19. Install the thermostat bypass pipe.