Operation CHARM: Car repair manuals for everyone.
Manuals through 2025 now available!

Our trusted friends have launched a new website named LEMON, which has newer manuals. It also contains all the CHARM manuals.

LEMON is the spiritual successor to CHARM, I recommend you try it!

Link: lemon-manuals.la or lemon-manuals.org.ua

(Some people have issue connecting. LEMON is investigating. For now, use Firefox or change your DNS server)

Or, hide this message: temporarily or permanently

Cylinder Liner: Service and Repair



Cylinder Sleeve Replacement

Tools Required

EN 45680-850 Cylinder Sleeve Removal and Installation Kit

Removal Procedure

1. Remove the piston and connecting rod.
2. Inspect the condition of the piston.

Notice: Do not chill or heat the cylinder bore sleeve or the cylinder block when removing or installing a new cylinder bore sleeve. Chilling or heating the cylinder bore sleeve or the cylinder block will cause engine damage and will not aid the removal or installation of the new cylinder bore sleeve.

Notice: Do not damage the crankshaft connecting rod journals or reluctor ring or engine damage will occur.




3. Rotate the crankshaft so that the counterweight is to the right side and the connecting rod journal is to the left side and not in alignment with the cylinder bore.
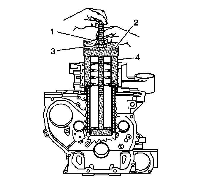
4. Install the cylinder bore sleeve puller EN 45680-852 (1) through the cylinder bore.

Notice: Ensure that the shoe is flat against the bottom of the cylinder bore liner or damage to the cylinder bore liner puller EN45680-852 will occur.

5. Align the shoe (1) of the cylinder bore sleeve puller EN 45680-852 to the bottom of the cylinder bore sleeve (2).




6. Hold the threaded shaft of the cylinder bore sleeve puller EN 45680-852 upward in order to retain the shoe alignment to the bottom of the cylinder bore sleeve.
7. Install the fixture EN 456850-851 (4) onto the threaded shaft of the cylinder bore sleeve puller EN 456850-852 and the engine block.
8. Install the bearing (3) and the nut (1).
9. Tighten the nut (1) to the bearing (3).

Notice: Refer to Fastener Notice.

Important: Use four old cylinder head bolts for the attaching bolts.

10. Install and tighten the 4 attaching bolts (2) into the cylinder head bolt holes of the block.

Tighten the bolts to 15 N.m (11 lb ft).




11. Rotate the nut clockwise in order to remove the cylinder bore sleeve.





Notice: Do not damage the cylinder block surface. Damage to the cylinder block surface can cause engine failure.

12. Remove fixture EN 45680-851, cylinder bore liner sleeve EN 45680-852, and the cylinder bore liner from the engine block.
13. Inspect the cylinder bore in the cylinder block for cracks or damage. If cracked or damaged, replace the cylinder block.

Installation Procedure

Notice: Do not use assembly aids or lubricants on the cylinder bore sleeve or the cylinder bore block when installing a new cylinder bore sleeve, or engine damage will occur. These items will not aid in the installation of the new cylinder bore sleeve.

Notice: Do not chill or heat the cylinder bore sleeve or the cylinder block when removing or installing a new cylinder bore sleeve. Chilling or heating the cylinder bore sleeve or the cylinder block will cause engine damage and will not aid the removal or installation of the new cylinder bore sleeve.




1. Place the NEW cylinder bore sleeve onto the cylinder block.
2. Install fixture EN 45680-851/cylinder bore sleeve installer EN 45680-853 assembly over the cylinder bore sleeve and onto the cylinder block. Do not apply downward pressure to the cylinder bore sleeve.





Notice: Refer to Fastener Notice.

Important: Use 4 old cylinder head bolts for the attaching bolts.

3. Insert the 4 attachment bolts into the legs of the fixture EN 45680-851 (1). Do not apply downward pressure to the cylinder bore sleeve (2).

Tighten the 4 attachment bolts to 15 N.m (11 lb ft).




4. Align the bottom of the cylinder bore sleeve (1) with the cylinder bore of the block (2).




5. Align the installation arbor (1) onto the top of the cylinder bore sleeve (2).




6. Align the pusher block (2) of cylinder bore sleeve installer EN 45680-853 into the groove of fixture EN 45680-851 (1).





Notice: Do not use any air powered or electric tools to rotate the threaded shaft of the fixture EN 45680-851/cylinder bore liner installer EN 45680-853 assembly or damage to the cylinder bore liner will occur.

7. Using a ratchet, rotate the threaded shaft of fixture EN 45680-851/cylinder bore sleeve installer EN 45680-853 assembly in order to install the cylinder bore sleeve into the engine block.
8. Do not completely seat the cylinder bore sleeve in the block. Leave approximately 1/16 inch of the cylinder bore sleeve above the surface of the cylinder block.




9. Using a torque wrench, torque the threaded shaft of the fixture EN 45680-851/cylinder bore sleeve installer EN 45680-853 assembly to 102 N.m (75 lb ft) in order to completely seat the cylinder bore sleeve in the cylinder block. With the cylinder bore sleeve properly installed, a minimal portion of the cylinder bore sleeve flange will protrude above the block deck surface.




10. Remove the fixture EN 45680-851/cylinder bore sleeve installer EN 45680-853 assembly (1) from the cylinder block (2).

Cylinder Liner Trimming





* EN 45680-865 Debris Collector (3)
* EN 45680-861 Trim Tool Assembly (2)
* Air Control Valve (1)
* Drill Motor with 1/2 inch chuck,1 1/8 hp, 7 amps, triple gear reduction, and a 450-600 RPM rotational speed in a clockwise direction





* Trim Tool Preloader (1)
* EN 45680-862 Set Gage Ring (2)
* EN 45680-863 Metal Shavings Catch Plug (3)
* EN 45680-866 Drive Adapter (4)
* EN 45680-864 Bolts (5)

Notice: Do not bore or hone the cylinder bore sleeve. The cylinder bore sleeve inside diameter (I.D) is fully machined and honed to size and is optimally finished as shipped. Any attempt to modify this factory-produced sizing and finish with additional boring and honing will lead to engine damage, excessive noise or abnormal oil consumption.




1. After installing the NEW cylinder bore sleeve(s) into the engine block, trim the excess material from the cylinder bore sleeve flange.

Notice: Ensure that all the metal particles are collected in order to prevent internal damage to the transaxle or bearings.

2. Place metal shaving catch plug EN 45680-863 into the cylinder bore sleeve to be trimmed. Position the top of the EN 45680-863 approximately 3.0 mm (0.12 in) below the top surface of the cylinder bore sleeve.
3. Place additional metal shaving catch plugs EN 45680-863 into all remaining cylinder bore sleeves.





Notice: Installing the metal shaving catch plug EN 45680-863 deeper than the recommended depth will create a decrease in vacuum system performance. A decrease in vacuum system performance will cause metal shavings to enter the engine and cause engine failure.

Notice: Installing the metal shaving catch plug EN 45680-863 above the recommended depth will cause damage to the metal shaving catch plug EN 45680-863.

4. Ensure that the metal shaving catch plug EN 45680-863 is 3.0 mm (0.12 in) below the top surface of the cylinder bore sleeve.





Important: Before using trim tool assembly EN 45680-861, the height of the cutting blades must be set to the proper specification. The proper specification is that the cylinder bore liner flange must be flush to +0.02 mm (0.0008 in) above the block deck surface.

5. The groove side of the set gage ring EN 45680-862 (1) should be positioned upward on a flat surface.





Important: Ensure that the set gage ring EN 45680-862 surfaces are clean.

6. Carefully position trim tool assembly EN 45680-861 onto the set gage ring EN 45680-862.
7. Loosen the shaft collar screw (2).
8. Push the shaft collar (2) downward using the trim tool preloader (1) until the shaft collar is positioned against the top of the flange bearing (3).

Important: Once this procedure is done, it is not necessary to reset the trim tool assembly EN 45680-861 height until the blades are worn or damaged.

9. Apply downward pressure on the collar and inner drive shaft using the trim tool preloader (1), then tighten the shaft collar screw.

Tighten the shaft collar screw to 19 N.m (14 lb ft).




10. Place trim tool assembly EN 45680-861 onto the cylinder to be trimmed with the directional arrow pointing in line with the crankshaft centerline and the front of the block.
11. Install the 4 bolts EN 45680-864 into the cylinder head bolt holes in the block.

Tighten the bolts to 20 N.m (15 lb ft).





Notice: For proper tool operation, a drill motor with a 1/2 inch chuck, 1 1/8 hp, 7 amps, triple gear reduction, and a 450-600 RPM rotational speed in a clockwise direction must be used. If the proper drill motor is not used, damage to the cylinder bore sleeve will occur.

12. Fasten drive adapter EN 45680-866 into the drill chuck.

Notice: Ensure that there are no crimps in the air feed hose or the vacuum hose. Crimps in the hose may cause metal shavings to exit the cutting tool in any direction, causing engine damage.

13. Connect a compressed air supply (75-125 psi) to the male quick connect located on trim tool assembly EN 45680-861. Turn the compressed air valve to the open position. This starts the venturi vacuum system that will catch the metal shavings.
14. Place drive adapter EN 45680-866 and drill assembly vertically onto the drive adapter end of trim tool assembly EN 45680-861. Do not apply downward force on the drill until full rotational speed has been reached. After reaching full rotational speed, gradually apply downward force until the cutting action is complete in approximately 5 seconds.
15. Remove drive adapter EN 45680-866 (1) and drill assembly from the trim tool assembly EN 45680-861.
16. Turn OFF the compressed air valve.
17. Remove trim tool assembly EN 45680-861 from the engine block.
18. Wipe the cylinder bore sleeve and surrounding areas free of any powder residue and then remove the metal shaving catch plug EN 45680-863.




19. Install a straight edge on the cylinder block perpendicular to the crankshaft center line.
20. Using a light, illuminate the backside of the straight edge.




21. Looking at the front of the straight edge, check to see if light is protruding through the bottom of the straight edge and the top of the cylinder bore sleeve flange. If light is present on either side or both sides of the cylinder bore sleeve, the cylinder bore sleeve is cut incorrectly and a new cylinder bore sleeve needs to be installed.




22. Looking at the front of the straight edge, check to see if light is protruding through the bottom of the straight edge and the top of the cylinder block deck surface. If light is present on both sides of the cylinder block, the cylinder bore sleeve is cut correctly.
23. Proceed to the next bore sleeve to be trimmed repeating steps 10-19 if necessary.
24. Install the piston and connecting rod.