Operation CHARM: Car repair manuals for everyone.
Manuals through 2025 now available!

Our trusted friends have launched a new website named LEMON, which has newer manuals. It also contains all the CHARM manuals.

LEMON is the spiritual successor to CHARM, I recommend you try it!

Link: lemon-manuals.la or lemon-manuals.org.ua

(Some people have issue connecting. LEMON is investigating. For now, use Firefox or change your DNS server)

Or, hide this message: temporarily or permanently

Suction Screen Installation



Suction Screen Installation

Tools Required

J 44551 Suction Screen Kit

Important: Suction screens are intended to be installed in the suction hose after a major compressor failure.

The suction screens are available in 3 different sizes.




1. Insert the J 44551-6 Sizing Tool (1) into the suction hose to select the correct size suction screen.
2. Insert the suction screen into the compressor end of the suction hose.




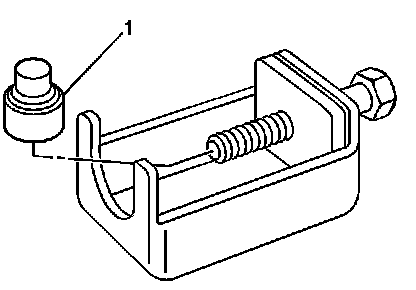
3. Install the correct mandrel (1) to the J 44551-5 Screen Installation Tool.




4. Install the J 44551-5 (3) over the end of the suction hose and the suction screen (2).

Important: Correct placement of the J 44551-5 is critical.

5. Tighten the forcing screw of the J 44551-5.
The suction screen is fully installed when the screen is flush with the end of the suction hose fitting.
6. Remove the J 44551-5 from the suction hose.
7. Install the J 44551-1 Suction Screen Notification Label.