Operation CHARM: Car repair manuals for everyone.
Manuals through 2025 now available!

Our trusted friends have launched a new website named LEMON, which has newer manuals. It also contains all the CHARM manuals.

LEMON is the spiritual successor to CHARM, I recommend you try it!

Link: lemon-manuals.la or lemon-manuals.org.ua

(Some people have issue connecting. LEMON is investigating. For now, use Firefox or change your DNS server)

Or, hide this message: temporarily or permanently

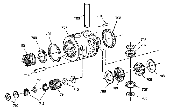
Final Drive and Differential Assembly



Disassembled Views

Final Drive and Differential Assembly:





115 - Sun Gear (Final Drive)
700 - Thrust Bearing
701 - Spiral Pin Retaining Ring
702 - Differential and Final Drive Carrier
703 - Differential Pinion Shaft
704 - Differential Pinion Shaft Retaining Pin
705 - Speed Sensor Rotor
706 - Thrust Washer (Differential Pinion)
706 - Thrust Washer (Differential Pinion)
707 - Differential Pinion Gear
707 - Differential Pinion Gear
708 - Thrust Washer (Differential Side Gear)
708 - Thrust Washer (Differential Side Gear)
709 - Differential Side Gear
709 - Differential Side Gear
710 - Pinion Thrust Washer
710 - Pinion Thrust Washer
711 - Pinion Gear (Final Drive Planetary)
712 - Roller Needle Bearing
713 - Pinion Needle Bearing Spacer
714 - Planetary Pinion Gear Pin