Operation CHARM: Car repair manuals for everyone.
Manuals through 2025 now available!

Our trusted friends have launched a new website named LEMON, which has newer manuals. It also contains all the CHARM manuals.

LEMON is the spiritual successor to CHARM, I recommend you try it!

Link: lemon-manuals.la or lemon-manuals.org.ua

(Some people have issue connecting. LEMON is investigating. For now, use Firefox or change your DNS server)

Or, hide this message: temporarily or permanently

Control Valve Body Cover Replacement



Control Valve Body Cover Replacement

Tools Required

J 36850 Transjel Lubricant(TM)

Removal Procedure

1. With the wheels in the straight ahead position, remove the key from the ignition switch.
2. Remove the underhood electrical center cover.
3. Disconnect the negative battery cable.




4. Disconnect the engine control module harness connector (3, 4).
5. Disconnect the positive battery cables (1) from the under hood electrical center.




6. Remove the underhood electrical center tray bracket nuts (1) and bolt (2).
7. Disconnect the wiring harness retainer from the tray bracket.




8. Lift the electrical center up and swing it back and out of the way.




9. Disconnect the shift cable from the PNP switch.
10. Disconnect the electrical connector from the PNP switch.
11. Remove the shift cable with bracket from the transmission.
12. Remove the PNP switch. Refer to Park/Neutral Position Switch Replacement.
13. Install the engine support fixture.
14. Secure the cooling module to the upper body structure.
15. Raise the vehicle. Refer to Vehicle Lifting.
16. Remove the front tires and wheels.
17. Remove the frame.
18. Remove the left wheel drive shaft from the transaxle.
19. Lower the vehicle.
20. Remove the left transmission mount.
21. Lower the engine with the engine support fixture.
22. Raise the vehicle. Refer to Vehicle Lifting.




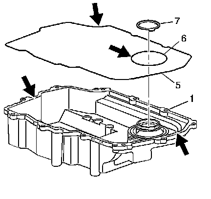
23. Remove the 11 transmission side cover bolts (3) or Studs (4) (model dependant).

Notice: Pry on the corner of the case side cover near the locating dowel pins (45), to prevent damage to the sealing surfaces.

24. Remove the transmission side cover (1).
25. Remove the two side cover gaskets (5 and 6) and the side cover to driven support thrust washer (7). They may remain with the side cover. Only replace if necessary.

Installation Procedure




1. If the seals were removed, thoroughly clean and dry the side cover seal grooves and the side cover seals.
2. Install the side cover gaskets (5 and 6) into the grooves on the side cover (1).
3. Retain the seals with J 36850 or equivalent.
4. Install the side cover to drive sprocket thrust washer (7) onto the side cover.
5. Retain the thrust washer with J 36850 or equivalent.




6. Install the side cover assembly onto the transmission case.
7. Install the 11 side cover bolts (3) or studs (4) (model dependent).




8. Refer to the graphic in order to find the correct installation points of the bolts and the stud.





Notice: Refer to Fastener Notice.

9. Hand start the bolts.

Tighten the side cover bolts and stud to 28 N.m (22 lb ft).

10. Lower the vehicle.
11. Raise the engine with the engine support fixture.
12. Install the left transmission mount.
13. Raise the vehicle.
14. Install the left wheel drive shaft to the transmission.
15. Install the frame.
16. Install the front tires and wheels..
17. Lower the vehicle.
18. Remove the engine support fixture.




19. Install the PNP switch. Refer to Park/Neutral Position Switch Replacement.
20. Connect the electrical connector to the PNP switch.
21. Install the shift cable with bracket to the transmission.
22. Connect the shift cable to the PNP switch.
23. Reposition the underhood electrical center.
24. Connect the wiring harness retainer to the tray bracket.




25. Install the electrical center nuts (1) and bolts (2).
^ Tighten the nut to 10 N.m (89 lb in).
^ Tighten the bolt to 25 N.m (18 lb ft).




26. Install the positive battery cables (1) to the underhood electrical center.

Tighten the positive cable nut to 15 N.m (11 lb ft).

27. Connect the engine control module harness connectors (3, 4).
28. Connect the negative battery cable.
29. Install the underhood electrical center cover.
30. Fill the transmission. Refer to Approximate Fluid Capacities.