Operation CHARM: Car repair manuals for everyone.
Manuals through 2025 now available!

Our trusted friends have launched a new website named LEMON, which has newer manuals. It also contains all the CHARM manuals.

LEMON is the spiritual successor to CHARM, I recommend you try it!

Link: lemon-manuals.la or lemon-manuals.org.ua

(Some people have issue connecting. LEMON is investigating. For now, use Firefox or change your DNS server)

Or, hide this message: temporarily or permanently

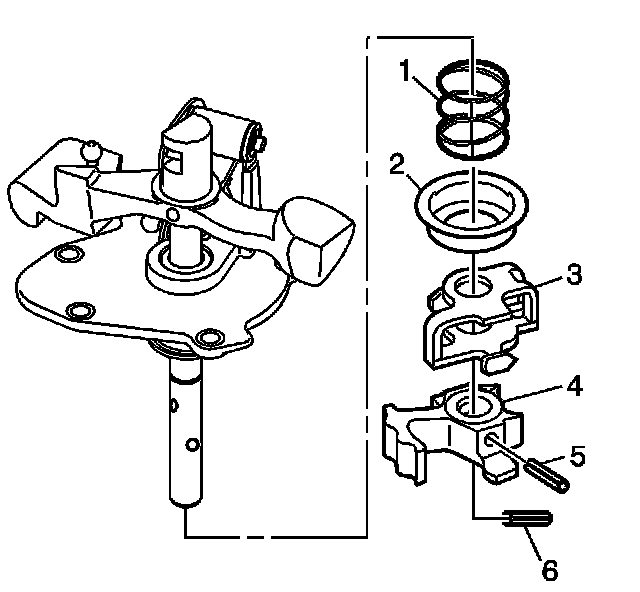
Shifter Assemble



Shifter Assemble




1. Install the inner spring seat (4) onto the shift rod (5).
2. Install the inner spring (3).
3. Install the outer spring seat (2).
4. Install NEW retainers (1).




5. Install the shift cover (5).
6. Install the shift cover bushing (3), if removed.
7. Install the shift lever (1).
8. Install a new roll pin (2).




9. Install the select lever (4).
10. Install the washer (2).
11. Install the retainer (1).




12. Install the outer spring (1).
13. Install the end cap (2).
14. Install the inner control lever (4) into the outer control lever (3).
15. Install the control levers onto the shaft.

Important: Properly support the inner control lever (4) when installing the roll pin. Do not support the inner control lever (4) with the outer control lever (3).

16. Install a new roll pin (5).

Important: Install the reverse lockout inhibit roll pin 1/3 to 1/4 way into the shaft. The pin must activate the reverse inhibit lever.

17. Install a new reverse lockout inhibit roll pin (6).