Operation CHARM: Car repair manuals for everyone.
Manuals through 2025 now available!

Our trusted friends have launched a new website named LEMON, which has newer manuals. It also contains all the CHARM manuals.

LEMON is the spiritual successor to CHARM, I recommend you try it!

Link: lemon-manuals.la or lemon-manuals.org.ua

(Some people have issue connecting. LEMON is investigating. For now, use Firefox or change your DNS server)

Or, hide this message: temporarily or permanently

Diesel Particulate Filter (DPF) System Description



Diesel Particulate Filter (DPF) System Description

Exhaust Particulate Filter





The exhaust particulate filter (EPF) captures diesel exhaust gas particulates, preventing their release into the atmosphere. This is accomplished by forcing particulate-laden exhaust (1) through a filter substrate of porous cells, which removes the particulates from the exhaust gas. The exhaust gas enters the filter, but because every other cell of the filter is capped at the opposite end, the exhaust particulates cannot exit the cell. Instead, the exhaust gas passes through the porous walls of the cell leaving the particulates trapped on the cell wall. The cleaned exhaust gas exits the filter through the adjacent cell. The EPF is capable of reducing more than 90 percent of particulate matter (PM).

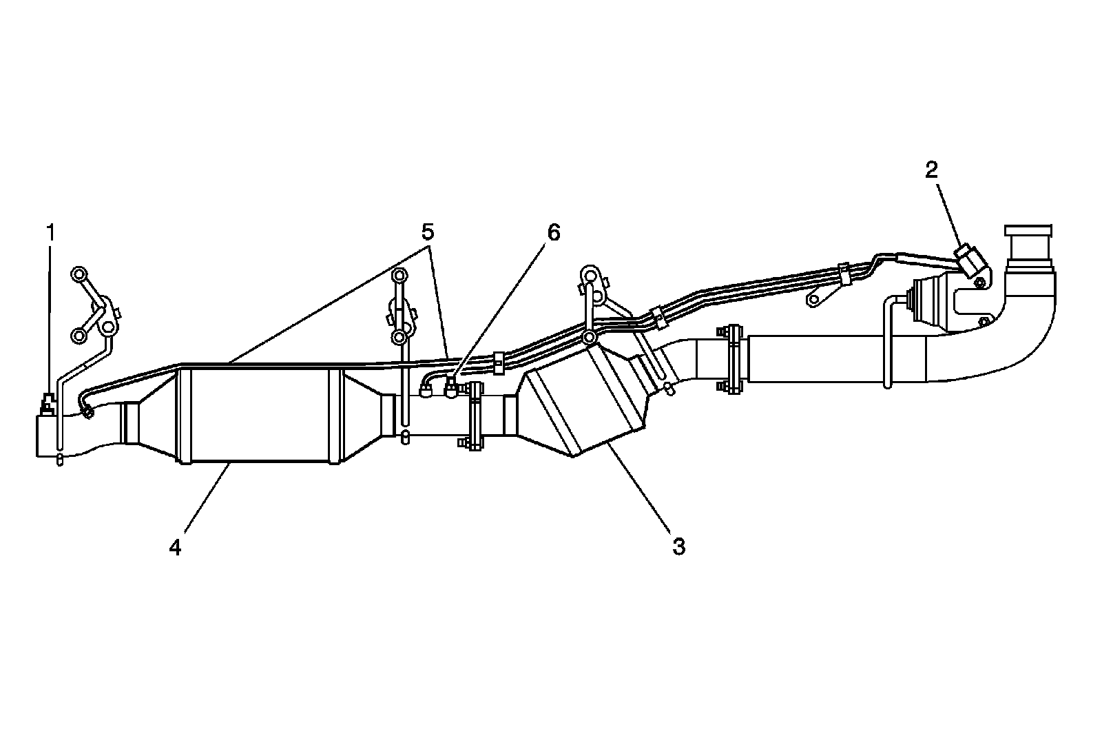
Diesel Particulate Filter Layout




1 - Exhaust Gas Temperature (EGT) Sensor 2
2 - Differential Pressure Sensor (DPS)
3 - Diesel Oxidation Catalyst (DOC)
4 - Exhaust Particulate Filter (EPF)
5 - Differential Pressure Sensor (DPS) Pressure Lines
6 - Exhaust Gas Temperature (EGT) Sensor 1

Diesel Oxidation Catalyst

The diesel oxidation catalyst (DOC) (3) has two functions. One function is to reduce emissions of non methane hydro-carbons (NMHC) and carbon monoxide (CO), from the exhaust gases. The other function is to help start a regeneration event by converting the fuel-rich exhaust gases to heat. The engine control module (ECM) monitors the functionally of the DOC by determining if the exhaust gas temperature (EGT) sensor 1 (6) reaches a predetermined temperature during a regeneration event. The DOC and the exhaust particulate filter (EPF) (4) are downstream of the turbocharger, and are two separate components under the vehicle.

Differential Pressure Sensor (DPS) and Pressure Lines

The differential pressure sensor (DPS) (2) measures the pressure difference between the inlet and outlet of the exhaust particulate filter (EPF). When pressure difference has increased above a calibrated threshold, a high particulate loading condition is indicated. The ECM will command a regeneration event in order to restore the filter. If the pressure differential continues to increase across the exhaust filter without a regeneration event, the ECM will illuminate an EPF lamp or send a message to the driver information center (DIC) referring the customer to clean the exhaust filter. To clean the exhaust filter the vehicle must be driven under the conditions necessary for a regeneration to take place. If these lamps and messages are ignored, the ECM will eventually illuminate the malfunction indicator lamp (MIL) and revert to Reduced Engine Power which will require the vehicle to be serviced.

The DPS sensor provides a voltage signal to the ECM on a signal circuit relative to the pressure differential changes in the DPF. The ECM converts the signal voltage input to a pressure value.

The DPS pressure lines (5) are connected before and after the DPF. To provide the pressure sensor with accurate back pressure measurements, the DPS pressure lines should have a continuous downward gradient, without any sharp bends or kinks.

Exhaust Gas Temperature Sensors

The ECM uses two exhaust gas temperature (EGT) sensors to measure the temperature of the exhaust gases at the inlet and outlet of the exhaust particulate filter (EPF). The EGT sensors are variable resistors, when the EGT sensors are cold, the sensor resistance is high, and as the temperature increases, the sensor resistance decreases. When sensor resistance is high, the ECM detects a high voltage on the signal circuit. When sensor resistance is low, the ECM detects a lower voltage on the signal circuit. Proper EGTs at the inlet and outlet of the EPF are crucial for proper operation and for initiating the regeneration process. A temperature that is too high in the EPF will cause the EPF substrate to melt or crack. The ECM monitors the temperatures at the EPF inlet and outlet to regulate EPF temperatures.

Intake Air (IA) Valve

The intake air (IA) valve is located upstream of the intake air heater, and is normally in the open position. The ECM commands the valve to close in order to precisely control combustion temperature control during exhaust particulate filter (EPF) regeneration. The IA valve will ensure the temperature of the exhaust gas remains in an efficient range under all operating conditions. The IA valve system uses a position sensor located within the valve assembly to monitor the position of the valve. The IA valve uses a motor to move the valve to a closed position and spring tension returns it to the open position. The motor is operated through Motor Control 1 and 2 circuits.

Normal Regeneration

Regeneration is the process of removing the captured particulates through incineration within the exhaust particulate filer (EPF). Elevated temperatures are created in the diesel oxidation catalyst (DOC) through a calibrated strategy in the engine control system.

Regeneration occurs when the ECM calculates that the particulate level in the filter has reached a calibrated threshold using a number of different factors, including engine run time, distance traveled, fuel used since the last regeneration, and the exhaust differential pressure. In general, the vehicle will need to be operating continuously at speeds above 48 km/h (30 mph) for approximately 20-30 minutes for a full and effective regeneration to complete. During regeneration the exhaust gases reach temperatures above 550°C (1,022°F). The ECM monitors the EGT sensors during regeneration. If the sensors indicate that regeneration temperatures are exceeding a calibrated threshold, regeneration will be temporally suspended until the sensors return to a normal temperature. If EGT temperatures fall below a normal calibrated threshold, regeneration will be terminated and a corresponding DTC should set. If a regeneration event is interrupted for any reason, it will continue, including the next key cycle, when the conditions are met for regeneration enablement. Normal regeneration is transparent to the customer.

Service Regeneration

Caution: Tailpipe outlet exhaust temperature will be greater than 300�C (572�F) during service regeneration. To help prevent personal injury or property damage from fire or burns, perform the following:

1. Do not connect any shop exhaust removal hoses to the vehicle's tailpipe.

2. Park the vehicle outdoors and keep people, other vehicles, and combustible material away during service regeneration.

3. Do not leave the vehicle unattended.


Caution: To avoid extremely elevated exhaust temperatures, inspect and remove any debris or mud build up at the exhaust cooler located at the tailpipe.

Notice: Due to the elevated engine temperatures created while performing this procedure it is imperative to keep the front of vehicle in an open environment, with the hood open, away from any walls or buildings. This will ensure proper airflow across the radiator.

A scan tool is an essential tool that is required for service regeneration. Commanding a service regeneration is accomplished using the output control function. The vehicle will need to be parked outside the facility and away from nearby objects, such as other vehicles and buildings, due to the elevated exhaust gas temperature at the tail pipe during regeneration. The service regeneration can be terminated by applying the brake pedal, commanding service regeneration OFF using the scan tool, or disconnecting the scan tool from the vehicle.

Regeneration Process

A number of engine components are required to function together for the regeneration process to be performed. These components are the fuel injectors, turbocharger, IA valve, fuel pressure control, and the intake air heater (IAH).

The regeneration process consists of several stages:

Warming up the diesel oxidation catalyst (DOC) to 350°C (662°F) by performing the following:

* Reducing air flow with the intake air valve
* Increasing or decreasing boost pressure with the turbocharger, depending on engine load
* Elevating the engine speed
* Reduce fuel rail pressure
* Retard fuel injection timing
* Add late fuel injection pulses. The added fuel is not combusted but is oxidized by the DOC and exhaust particulate filter (EPF) to create heat.

Ash Loading

Ash is a non-combustible by product from normal oil consumption. Low Ash content engine oil (CJ-4 API) is required for vehicles with the exhaust particulate filter (DPF) system. Ash accumulation in the DPF will eventually cause a restriction in particulate filter. Regeneration will not burn off the ash, only particulate matter is burned off. An ash loaded DPF will need to be removed from the vehicle and cleaned or replaced.