Operation CHARM: Car repair manuals for everyone.
Manuals through 2025 now available!

Our trusted friends have launched a new website named LEMON, which has newer manuals. It also contains all the CHARM manuals.

LEMON is the spiritual successor to CHARM, I recommend you try it!

Link: lemon-manuals.la or lemon-manuals.org.ua

(Some people have issue connecting. LEMON is investigating. For now, use Firefox or change your DNS server)

Or, hide this message: temporarily or permanently

Fuel System Description



Fuel System Description

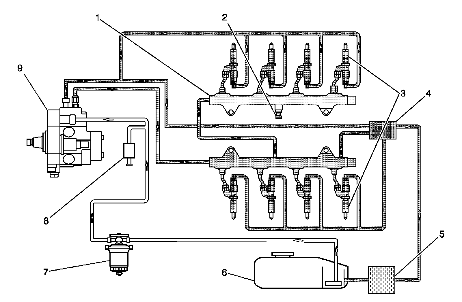
Fuel System Overview




1 - Fuel Rail
2 - Fuel Pressure Sensor
3 - Fuel Injectors
4 - Fuel Return Junction Block
5 - Fuel Cooler
6 - Fuel Tank
7 - Fuel Filter/Heater Element Housing
8 - First Start Fuel Bleeder Valve
9 - Fuel Injection Pump

The fuel tank (6) stores the fuel supply. A mechanical fuel injection pump (9), located below the engine intake, includes the fuel supply pump and the high-pressure pump. Fuel is drawn through the fuel filter/heater element housing (7), which combines a water separator, a hand prime pump, a fuel heater element and a filter element. An integrated hand prime pump is used to prime the fuel system after changing the fuel filter or servicing the fuel system. The mechanical fuel injection pump output is controlled by the ECM, and provides fuel at the pressure needed by the fuel injectors (3). The fuel injectors supply fuel directly to the combustion chambers of the engine. A separate pipe returns unused fuel through a fuel cooler (5) to the fuel tank.

Fuel Tanks





The fuel tanks store the fuel supply. The primary fuel tank (2) is located on the left side of the vehicle. On vehicles that are equipped with dual fuel tanks, the auxiliary fuel tank is located in the rear of the vehicle. The fuel tanks are each held in place by 2 metal straps that attach to the frame. The fuel tanks are molded from high density polyethylene.

Fuel Filler Cap





The fuel filler cap has a torque-limiting device that prevents the cap from being over tightened. To install, turn the cap clockwise until you hear audible clicks. This indicates that the cap is fully seated.

Fuel Sender Assembly





The fuel sender consists of the following major components:

* The fuel level sensor (1)
* The fuel strainer (2)





The auxiliary fuel sender on vehicles equipped with dual fuel tanks consists of the following major components:

* The fuel level sensor (1)
* The fuel strainer (2)

Fuel Level Sensor

The fuel level sensor consists of a float, a wire float arm, and a ceramic resistor card. The position of the float arm indicates the fuel level. The fuel level sensor contains a variable resistor which changes resistance in correspondence with the amount of fuel in the fuel tank. The engine control module (ECM) sends the fuel level information to the instrument panel cluster (IPC). This information is used for the instrument panel (I/P) fuel gage and the low fuel warning indicator, if applicable. The ECM also monitors the fuel level input for various diagnostics.

Fuel Strainer

The fuel strainer attaches to the lower end of the fuel sender. The fuel strainer is made of woven plastic. The functions of the fuel strainer are to filter contaminants and to wick fuel. The fuel strainer is self-cleaning and normally requires no maintenance. Fuel stoppage at this point indicates that the fuel tank contains an abnormal amount of sediment.

Fuel Pump





On vehicles equipped with dual fuel tanks, an electric fuel pump is located on the left frame rail. This fuel pump is powered by the fuel pump relay that is controlled by the engine control module (ECM). Fuel is transferred from the auxiliary fuel tank to the primary fuel tank in order to ensure all of the usable fuel volume is available to the fuel injection pump.

Fuel Injection Pump





The fuel injection pump is a mechanical high pressure pump. The fuel injection pump is located below the intake manifold. Fuel is pumped to the fuel rails at a specified pressure. Fuel pressure is regulated by a valve on the inlet of the fuel pump, controlled by the engine control module (ECM). Excess fuel from the fuel injection pump returns to the fuel tank through the fuel return pipe and a fuel cooler.

Fuel Filter





The fuel filter is located on the rocker cover. The paper filter element traps particles in the fuel that may damage the fuel injection system.

Fuel Feed and Return Pipes

The fuel feed pipe carries fuel from the fuel tank to the fuel filter/heater element housing. The fuel return pipe carries fuel from the fuel rail assemblies back to the fuel tank. The fuel pipes consist of 2 sections:

* The rear fuel pipe assemblies are located from the top of the fuel tank to the chassis fuel pipes. The rear fuel pipes are constructed of steel with sections of rubber hose covered with braiding.
* The chassis fuel pipes are located under the vehicle and connect the rear fuel pipes to the fuel rail pipes. These pipes are constructed of steel with sections of rubber hose covered with braiding.

Quick-Connect Fittings

Quick-connect fittings provide a simplified means of installing and connecting fuel system components. The fittings consist of a unique female connector and a compatible male pipe end. O-rings, located inside the female connector, provide the fuel seal. Integral locking tabs inside the female connector hold the fittings together.

Fuel Pipe O-Rings

O-rings seal the connections in the fuel system. Fuel system O-ring seals are made of special material. Service the O-ring seals with the correct service part.

Fuel Rail Assemblies





The left and right fuel rail assemblies attach to the cylinder heads. The fuel rail assemblies distribute pressurized fuel to the fuel injectors through the fuel lines.

The fuel rail assemblies consists of the following components:

* The fuel rail pressure sensor in the right fuel rail
* The fuel pressure relief valve in the left fuel rail

The fuel rail pressure sensor gives the engine control module (ECM) an indication of fuel pressure. The ECM uses this information to regulate fuel pressure, by commanding the fuel pressure regulator open or closed on the inlet of the fuel injection pump.

The fuel pressure relief valve opens only to prevent excessive pressure in the event of a malfunction. Fuel from the fuel pressure relief valve is returned to the fuel tank.

Fuel Injectors and Return Lines









A fuel injector is a solenoid device, controlled by the engine control module (ECM), that meters pressurized fuel to a single engine cylinder. Fuel pressure is released from above the fuel injector pintle, and is returned to the fuel tank through the fuel return lines. The difference in fuel pressure above and below the pintle causes the pintle to open. Fuel from the fuel injector tip is sprayed directly into the combustion chamber on the compression stroke of the engine.

The control functions for the fuel injection system are integrated in the ECM. During the manufacturing process, each injector's flow rate is measured and recorded as injection quantity adjustment (IQA) flow rate data. The flow rate data is then etched as a hexadecimal number on the body of the injector. This data, together with the injector's cylinder position, is stored in the memory of both the glow plug control module (GPCM) and the ECM. When the ignition is turned ON, both the GPCM and the ECM monitor to ensure that the fuel injection flow rate numbers are present. If any of the injector flow rate numbers are missing, the diagnostic for that control module will set the appropriate DTC.

Fuel System Cooler





The fuel system cooler (1) is located in front of the primary fuel tank. The fuel system cooler cools the fuel before it is returned to the fuel tank.