Operation CHARM: Car repair manuals for everyone.
Manuals through 2025 now available!

Our trusted friends have launched a new website named LEMON, which has newer manuals. It also contains all the CHARM manuals.

LEMON is the spiritual successor to CHARM, I recommend you try it!

Link: lemon-manuals.la or lemon-manuals.org.ua

(Some people have issue connecting. LEMON is investigating. For now, use Firefox or change your DNS server)

Or, hide this message: temporarily or permanently

System Specifications

Cylinder Head
Surface Flatness - Block Deck - Service Limit 0.2 mm 0.0079 in
Surface Flatness - Block Deck - Production Value 0.075 mm 0.0030 in
Surface Flatness - Exhaust Manifold Deck - Production Value 0.1 mm 0.0039 in
Surface Flatness - Intake Manifold Deck - Production Value 0.1 mm 0.0039 in

Left Side:





Exhaust Manifold Bolt/Nut 57 N.m 42 lb ft





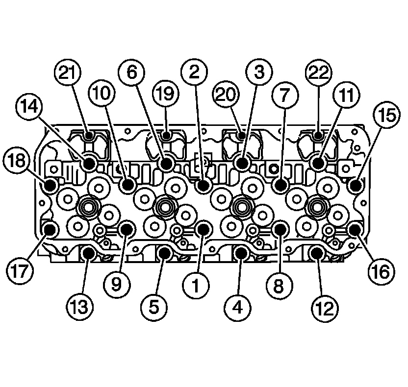
Cylinder Head Bolt

Install NEW M12 cylinder head bolts.
Reuse the M8 cylinder head bolts.

Cylinder Head M12 Bolt - Angular Tightening Method
1st Step 50 N.m
2nd Step 80 N.m
3rd Step 60 degrees
4th Step 60 degrees

1st Step 37 lb ft
2nd Step 59 lb ft
3rd Step 60 degrees
4th Step 60 degrees

Cylinder Head M8 Bolt 25 N.m 18 lb ft

Right Side:





Intake Manifold Bolts/Nuts 25 N.m 18 lb ft

Camshaft Gear Bolt 234 N.m 173 lb ft