Operation CHARM: Car repair manuals for everyone.
Manuals through 2025 now available!

Our trusted friends have launched a new website named LEMON, which has newer manuals. It also contains all the CHARM manuals.

LEMON is the spiritual successor to CHARM, I recommend you try it!

Link: lemon-manuals.la or lemon-manuals.org.ua

(Some people have issue connecting. LEMON is investigating. For now, use Firefox or change your DNS server)

Or, hide this message: temporarily or permanently

Disc Brake System: Description and Operation



Disc Brake System Description and Operation





Notice: Refer to Brake Caliper Notice (Service Precautions).

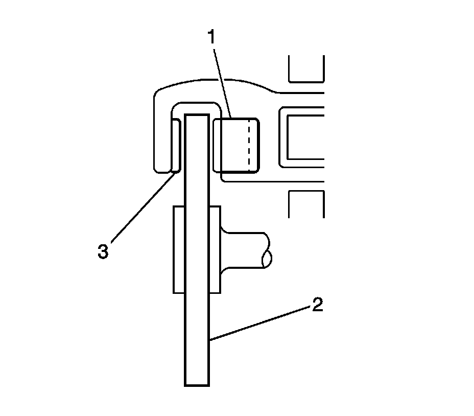
This caliper has a single bore and is mounted to the steering knuckle with 2 mounting bolts. Hydraulic pressure, created by applying the brake pedal, is converted by the caliper to a stopping force. This force acts equally against the piston (1) and the bottom of the caliper bore to move the piston outward and to slide the caliper inward, resulting in a clamping action on the rotor (2). This clamping action forces the linings against the rotor, creating friction to stop the vehicle.

* Replace all components included in the repair kits used to service this caliper.
* Lubricate the rubber parts with clean brake fluid to ease assembly.
* Do not use lubricated shop air on brake parts, as damage to the rubber components may result.
* If any hydraulic component is removed or disconnected, it may be necessary to bleed all or part of the brake system.
* Replace the pads (3) in axle sets only.
* The torque values specified are for dry, unlubricated fasteners.
* Perform the service operations on a clean bench, free from all mineral oil materials.


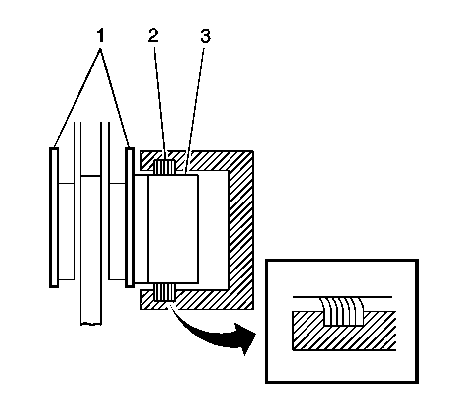
Clearance Calibration





When the hydraulic pressure is applied to the piston (3), the piston moves leftward. The piston seal (2) exerts pressure against the piston and moves with the cylinder.

However, a part of the piston seal is fixed into a groove within the cylinder. The shape of the seal is distorted toward the direction the piston is moving, as shown in the figure.

When the pressure is taken off the brake pedal and the hydraulic pressure is released from the piston, a restoring elastic force is generated at the seal. This force pushes the piston rightward and back to the original position.

As the pads (1) wear away and the clearance between the rotor and the pads becomes larger, the piston moves farther.

The shape of the seal could then become more distorted. The distortion is limited to the same amount as previously described, because the end of the seal is fixed into the groove in the cylinder. The piston moves farther to cover the distance of clearance. As the piston returns by the same distance, the rubber seal recovers its original shape, and the clearance between the rotor and pads is maintained in original condition.