Operation CHARM: Car repair manuals for everyone.
Manuals through 2025 now available!

Our trusted friends have launched a new website named LEMON, which has newer manuals. It also contains all the CHARM manuals.

LEMON is the spiritual successor to CHARM, I recommend you try it!

Link: lemon-manuals.la or lemon-manuals.org.ua

(Some people have issue connecting. LEMON is investigating. For now, use Firefox or change your DNS server)

Or, hide this message: temporarily or permanently

HVAC - Automatic



HVAC Component Views

HVAC Blower Controls




1 - Recirculation Actuator
2 - Blower Motor Resistor
3 - Blower Motor
4 - HVAC Control and Blower Switch

A/C Compressor




1 - A/C Compressor Clutch
2 - A/C Refrigerent Pressure Sensor

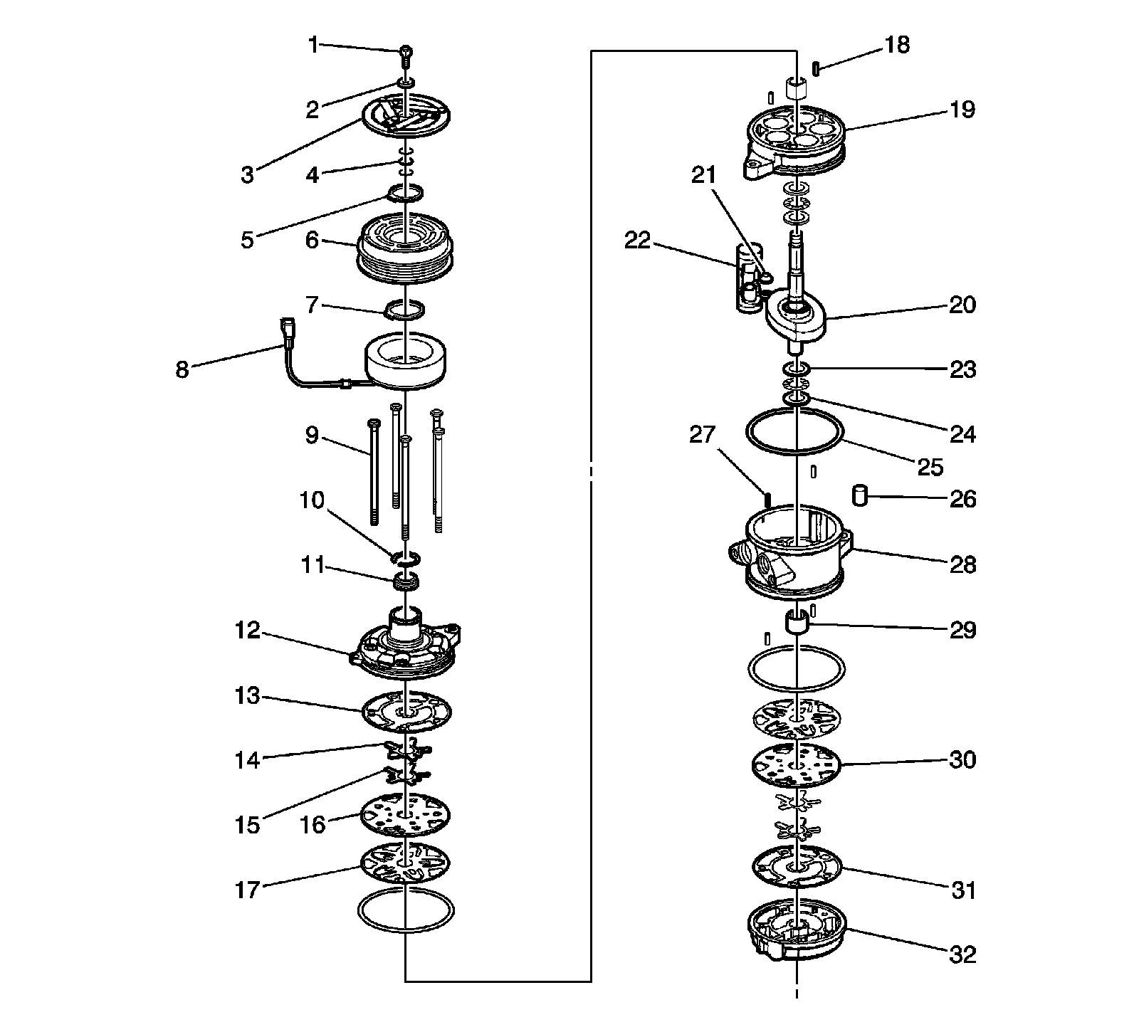
V5 Compressor Assembly




1 - Shaft Nut
2 - Compressor Shaft
3 - Shaft and Guide Pin Assembly Cylinder
4 - Rear Head O-Ring
5 - Suction Reed
6 - Valve Plate
7 - Rear Head Gasket
8 - Retaining Ring
9 - Control Valve O-Ring
10 - Compressor Control Valve
11 - Rear Head Compressor
12 - Adaptor Compressor
13 - Pressure Relief Valve O-Ring
14 - Pressure Relief Valve
15 - Adaptor Bolt
16 - Through-Bolt
17 - Clutch Hub Key
18 - Clutch and Hub Keyway
19 - Through-Gasket
20 - Oil Drain Plug
21 - Bearing
22 - Compressor Housing-to-Cylinder O-Ring
23 - Race
24 - Thrust Washer
25 - Compressor Housing
26 - Shaft Seal O-Ring
27 - Shaft Lip Seal
28 - Seal Retaining Ring
29 - Clutch Coil
30 - Rotor Pulley
31 - Pulley Bearing
32 - Pulley Bearing-to-Head Retaining Ring
33 - Drive Plate Clutch

SP10 Compressor Assembly (1.2L Engine)




1 - Shaft Bolt
2 - Shaft Bolt Washer
3 - Clutch and Drive Assembly
4 - Air Gap Shim
5 - Retaining Ring
6 - Pulley and Bearing Assembly
7 - Retaining Ring
8 - Coil and Housing Assembly
9 - Through Bolt
10 - Retaining Ring
11 - Lip Seal Assembly
12 - Front Head
13 - Front Head Gasket
14 - Discharge Reed Retainer
15 - Discharge Reed
16 - Front Valve Plate
17 - Suction Reed
18 - Parallel Locating Pin
19 - Front Compressor Cylinder
20 - Swash Plate and Shaft Assembly
21 - Piston Shoe
22 - Piston Assembly
23 - Thrust Bearing
24 - Thrust Bearing
25 - Cylinder O-Ring
26 - Bushing
27 - Roll Locating Pin
28 - Rear Compressor Cylinder
29 - Main Shaft Bearing
30 - Rear Valve Plate
31 - Rear Head Gasket
32 - Rear Head