Operation CHARM: Car repair manuals for everyone.
Manuals through 2025 now available!

Our trusted friends have launched a new website named LEMON, which has newer manuals. It also contains all the CHARM manuals.

LEMON is the spiritual successor to CHARM, I recommend you try it!

Link: lemon-manuals.la or lemon-manuals.org.ua

(Some people have issue connecting. LEMON is investigating. For now, use Firefox or change your DNS server)

Or, hide this message: temporarily or permanently

Thread Repair Specifications



Thread Repair Specifications

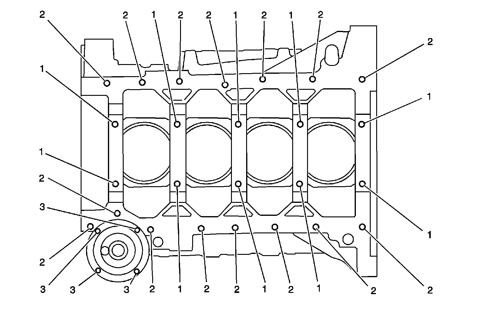
Engine Block - Top View

Engine Block - Top View:









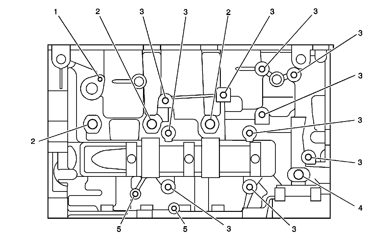
Engine Block - Bottom View

Engine Block - Bottom:









Engine Block - Left Side View

Engine Block - Left Side View:









Engine Block - Right Side View

Engine Block - Right Side View:









Engine Block - Front View

Engine Block - Front View:









Engine Block - Rear View

Engine Block - Rear View:









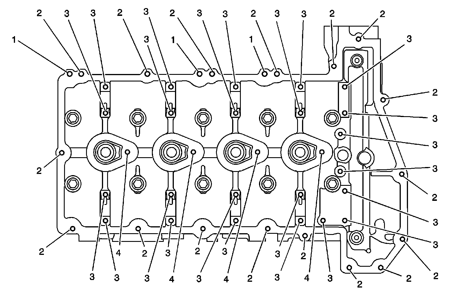
Cylinder Head - Top View

Cylinder Head - Top View:









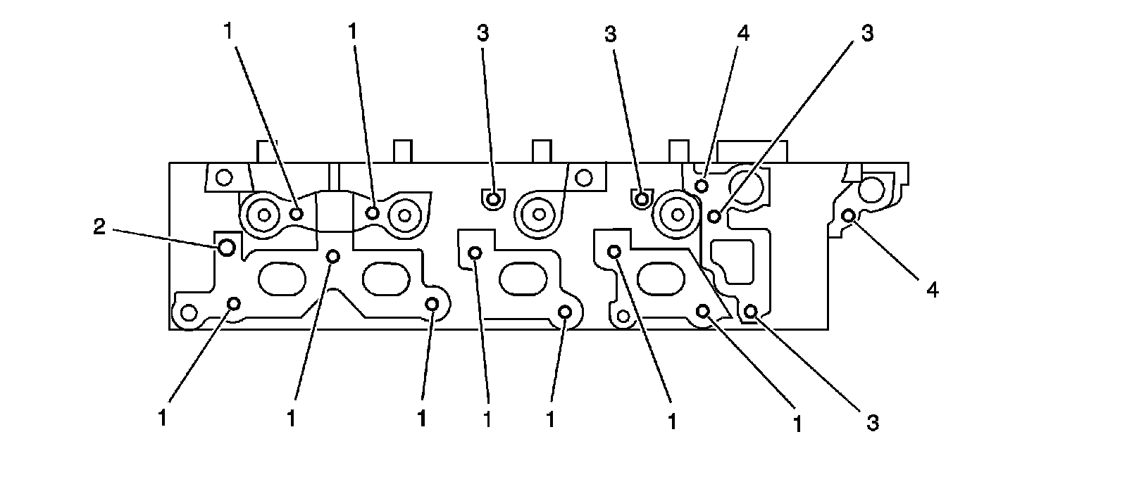
Cylinder Head - End - Front View

Cylinder Head - End - Front View:









Cylinder Head - End - Rear View

Cylinder Head - End - Rear View:









Cylinder Head - Intake Manifold Deck View

Cylinder Head - Intake Manifold Deck View:









Cylinder Head - Exhaust Manifold Deck View

Cylinder Head - Exhaust Manifold Deck View:









Oil Pan - Bottom View

Oil Pan - Bottom View:









Oil Pan - Rear View

Oil Pan - Rear View:









Engine Front Cover

Engine Front Cover:









Crankshaft Rear Oil Seal Housing

Crankshaft Rear Oil Seal Housing: