Operation CHARM: Car repair manuals for everyone.
Manuals through 2025 now available!

Our trusted friends have launched a new website named LEMON, which has newer manuals. It also contains all the CHARM manuals.

LEMON is the spiritual successor to CHARM, I recommend you try it!

Link: lemon-manuals.la or lemon-manuals.org.ua

(Some people have issue connecting. LEMON is investigating. For now, use Firefox or change your DNS server)

Or, hide this message: temporarily or permanently

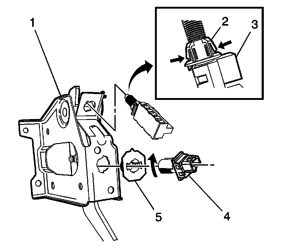
Clutch Switch: Service and Repair



Clutch Pedal Cruise Control Release Switch Replacement

Removal Procedure




1. Disconnect the clutch release switch electrical connector (2).




2. Complete the following in order to remove the clutch release switch (4) from the clutch pedal bracket (1):

1. Rotate the switch (4) counterclockwise.
2. Pull the switch (4) from the retainer (5).
3. Push the locking tabs inward to release the retainer (5).

Installation Procedure




1. Slide only the clutch release switch retainer (5) into the clutch pedal bracket (1), until the locking tabs are fully engaged.
2. Adjust the clutch release switch. Refer to Clutch Pedal Cruise Control Release Switch Adjustment (Adjustments) .