Lamp Harnesses
Harness Routing Views
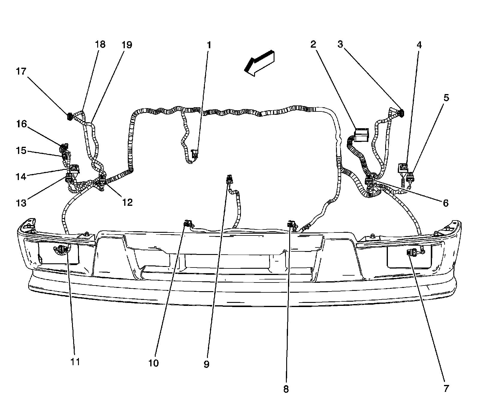
Forward Lamp Harness Routing
Forward Lamp Harness Routing:
1 - Horn Assembly
2 - Fuse Block - Underhood X1
3 - X108 (Forward Lamp Harness to Front Turn Signal Harness)
4 - Headlamp - LH (-TT5)
5 - Headlamp - Low Beam - Left (TT5)
6 - Headlamp - High Beam - Left (TT5)
7 - Fog Lamp - Left Front (T96)
8 - Inflatable Restraint Front End Sensor - Left
9 - Ambient Air Temperature Sensor (DF8)
10 - Inflatable Restraint Front End Sensor - Right
11 - Fog Lamp - Right Front (T96)
12 - Headlamp - High Beam - Right (TT5)
13 - Headlamp - Low Beam - Right (TT5)
14 - Headlamp - RH (-TT5)
15 - X104 (Forward Lamp Harness to Body Harness)
16 - X103 (Forward Lamp Harness to Body Harness)
17 - X107 (Forward Lamp Harness to Front Turn Signal Harness)
18 - Forward Lamp Harness (TT5)
19 - Forward Lamp Harness (-TT5)
Harness Routing Views
License Plate Lamp Harness Routing
License Plate Lamp Harness Routing:
1 - License Lamp - Right
2 - J900
3 - J901
4 - License Lamp - Left
5 - X400
Harness Routing Views
Chassis Harness Routing
Chassis Harness Routing:
1 - Chassis Frame
2 - Fuel Tank Pressure (FTP) Sensor
3 - Fuel Pump and Sender Assembly
4 - Evaporative Emission (EVAP) Canister Vent Solenoid
5 - X402 (Chassis Harness to Right Rear Lamp Assembly)
6 - J404
7 - X401 (Chassis Harness to Left Rear Lamp Assembly)
8 - X400 (Chassis Harness to License Lamp Harness)
9 - J403
10 - J402
11 - J400
12 - J401
13 - J310
14 - X102 (Body Harness to Chassis Harness)