Operation CHARM: Car repair manuals for everyone.
Manuals through 2025 now available!

Our trusted friends have launched a new website named LEMON, which has newer manuals. It also contains all the CHARM manuals.

LEMON is the spiritual successor to CHARM, I recommend you try it!

Link: lemon-manuals.la or lemon-manuals.org.ua

(Some people have issue connecting. LEMON is investigating. For now, use Firefox or change your DNS server)

Or, hide this message: temporarily or permanently

Positive: Service and Repair



Battery Positive and Negative Cable Replacement

Important:
* Always use replacement cables that are of the same type, diameter and length of the cables that are being replaced.

* Always route the replacement cable the same way as the original cable.


Removal Procedure




1. Disconnect the negative battery cable. Refer to Battery Negative Cable Disconnection and Connection (Service and Repair) .
2. Open the protective cover to access the positive battery cable terminal.
3. Loosen the positive battery cable nut (3).
4. Remove the positive battery cable (4) from the battery.




5. Disconnect the engine wiring harness electrical connector (1) from the generator battery control module.
6. Remove the engine wiring harness clip (2) from the upper battery box.




7. Disconnect the battery cable wiring harness electrical connector from the body wiring harness electrical connector.




8. Remove the bolt (3) securing the negative battery cable ground (2) to the battery tray.
9. Remove the generator battery control module clip (1) from the upper battery box.




10. Press the locking tabs inward in order the remove the underhood fuse block cover from the underhood fuse block.
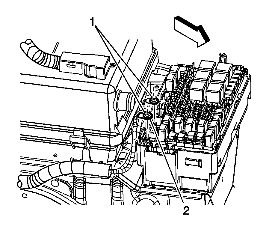
11. Remove the nuts (1) securing the battery cables to the underhood fuse block.




12. Remove the battery cable harness clips (1, 2) from the battery tray.
13. Remove the left wheelhouse liner. Refer to Front Wheelhouse Liner Replacement (Service and Repair) .




14. Remove the starter terminal nut (1) and remove the positive battery cable terminal (2) from the starter.




15. Remove the bolt (5) securing the negative battery cable ground terminal (4) to the engine block.
16. Remove the battery cable clip (3) from the engine wiring harness bracket.
17. Remove the battery cables from the vehicle.

Installation Procedure




1. Insert the battery cables to the vehicle.
2. Install the battery cable clip (3) to the engine wiring harness bracket.

Notice: Refer to Fastener Notice (Fastener Notice) .

3. Install the bolt (5) securing the negative battery cable ground terminal (4) to the engine block.

Tighten the bolt to 35 N.m (26 lb ft).




4. Install the positive battery cable terminal (2) to the starter and the starter terminal nut (1).
5. Install the left wheelhouse liner. Refer to Front Wheelhouse Liner Replacement (Service and Repair) .




6. Install the battery cable harness clips (1, 2) to the battery tray.




7. Tighten the nuts (1) securing the battery cables to the underhood fuse block.

Tighten the nuts to 10 N.m (89 lb in).

8. Install the underhood fuse block cover to the underhood fuse block, engaging the locking tabs.




9. Install the generator battery control module clip (1) to the upper battery box.
10. Install the bolt (3) securing the negative battery cable ground (2) to the battery tray.

Tighten the bolt to 9 N.m (80 lb in).




11. Connect the battery cable wiring harness electrical connector to the body wiring harness electrical connector.




12. Connect the engine wiring harness electrical connector (1) to the generator battery control module.
13. Install the engine wiring harness clip (2) to the upper battery box.




14. Install the positive battery cable (4) to the battery.
15. Tighten the positive battery cable nut (3).

Tighten the nut to 9 N.m (80 lb in).

16. Close the protective cover to access the positive battery cable terminal.
17. Connect the negative battery cable. Refer to Battery Negative Cable Disconnection and Connection (Service and Repair) .